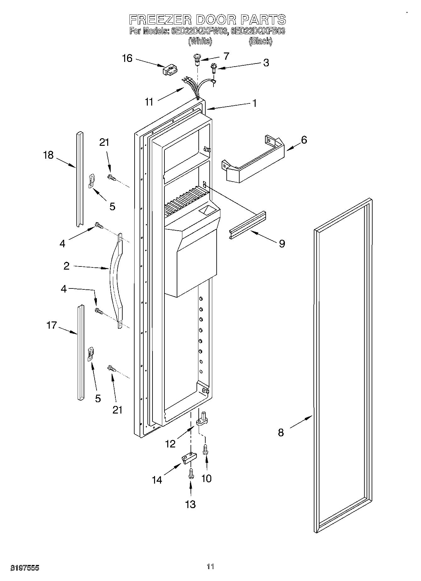
6ED22DQXFB03 08 – FREEZER DOORadmin2025-04-26T12:20:56+00:006ED22DQXFB03 08 – FREEZER DOOR ProductsPositionProduct1Freezer Door (White)1Freezer Door (Black (Includes Item No.8 And Dispenser Front Parts))2Handle, Center (White)2WP2186649B Whirlpool Refrigerator Handle3WP489128 Whirlpool Refrigerator Screw4WP489491 Whirlpool Refrigerator Screw5WP2195327 Whirlpool Refrigerator Clip6WP2156021 Whirlpool Refrigerator Door Trim7WP2182181 Whirlpool Refrigerator Thimble82159072 Whirlpool Refrigerator FIP Gasket82159080 Whirlpool Refrigerator Door Gasket9WPW10307490 Whirlpool Door Trim Assembly10WP3400012 Whirlpool Refrigerator Screw11Wire Harness12WP2182179 Whirlpool Cam Closer13WP489483 Whirlpool Screw14Bracket, Door Stop (Chrome)16WP2154473 Whirlpool Refrigerator Connector17Extension, Bottom (White)17WP2194969B Whirlpool Refrigerator Handle Trim18Extension, Top (White)18WP2194971B Whirlpool Refrigerator Handle Trim21WP3400852 Whirlpool Refrigerator Screw