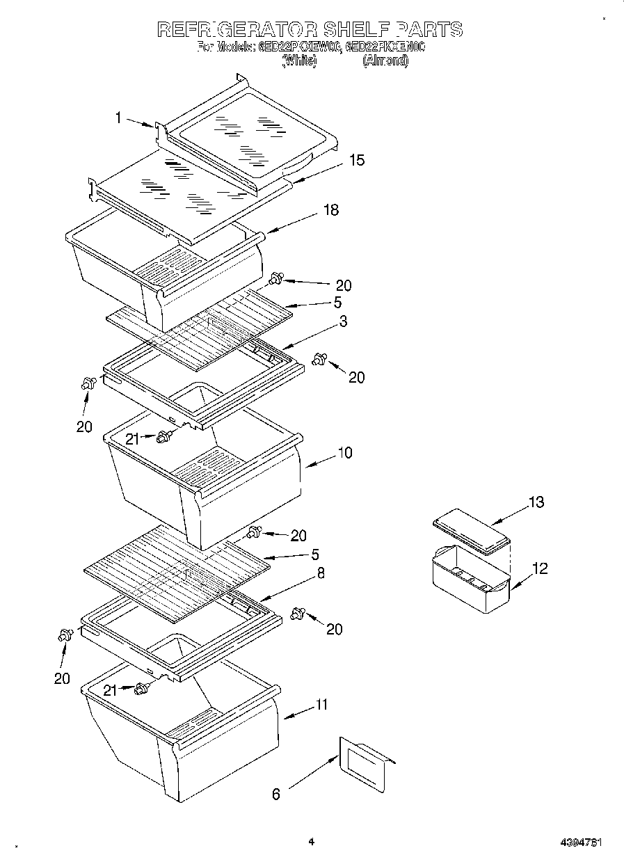
6ED22PKXEW00 03 – REFRIGERATOR SHELF