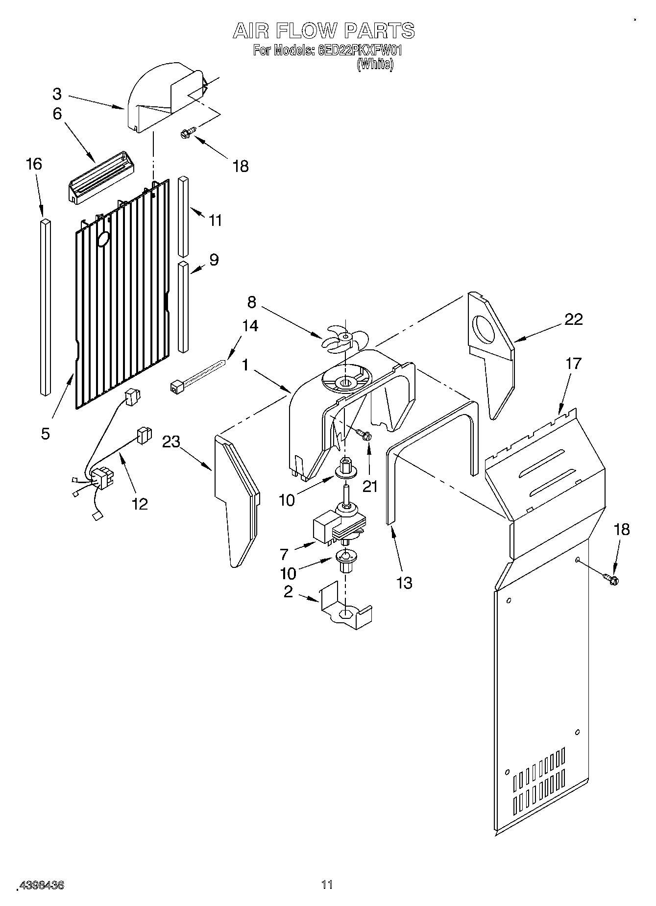
6ED22PKXFW01 07 – AIR FLOW