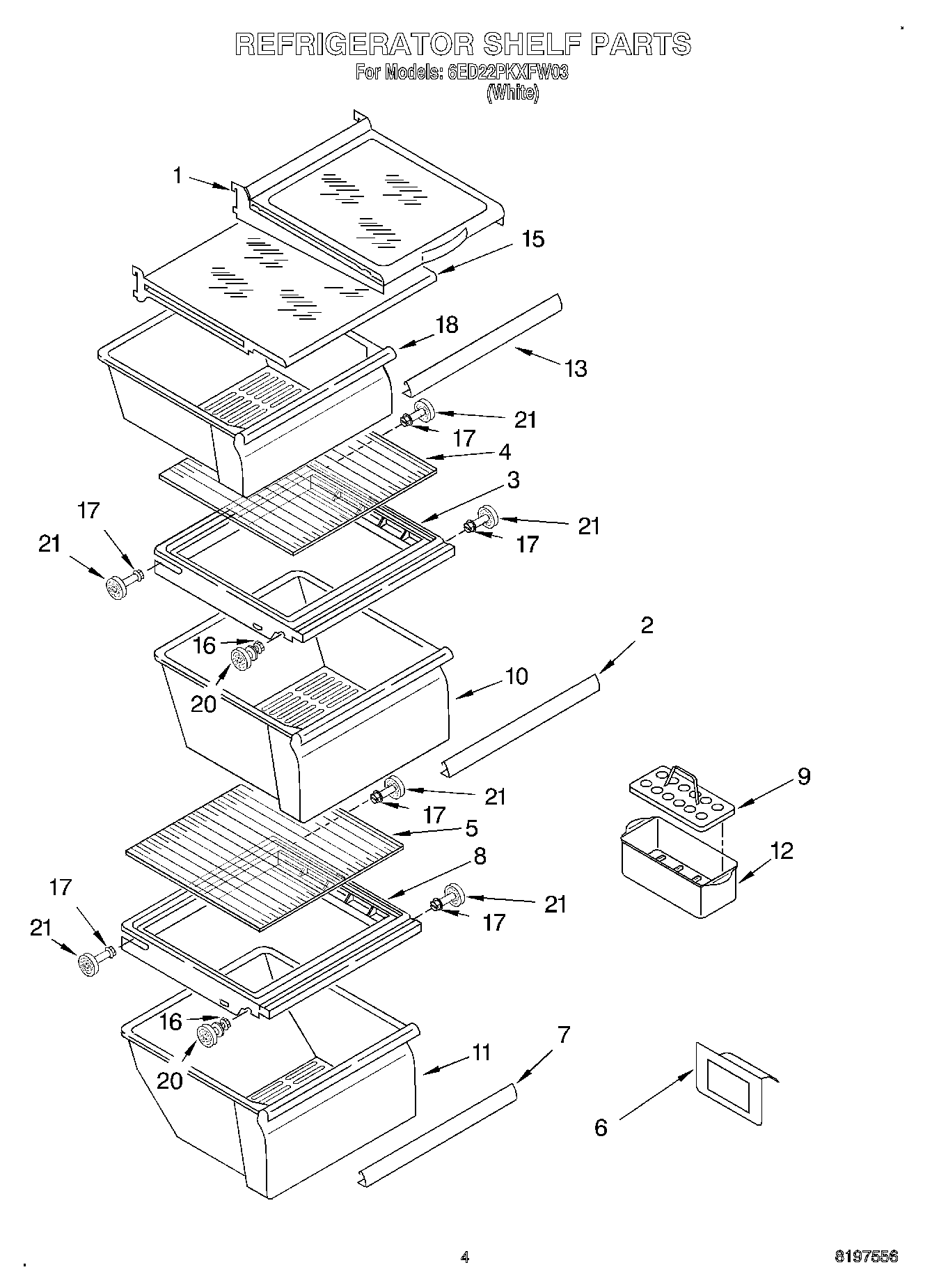
6ED22PKXFW03 03 – REFRIGERATOR SHELFadmin2025-04-26T11:37:58+00:006ED22PKXFW03 03 – REFRIGERATOR SHELF ProductsPositionProduct1Shelf Assembly, Cantilever (2)2Trim, Pan3W10508993 Whirlpool Refrigerator Cover Pan4W10864399 Whirlpool Glass Shelf62179350 Whirlpool Refrigerator Deflector7WP2179234 Whirlpool Refrigerator Pan Trim8Cover, Meat Pan9WP2177817 Whirlpool Refrigerator Egg Container10WP2188661 Whirlpool Crisper Pan11WP2188664 Whirlpool Dishwasher Meat Crisper Pan12W10136387A Whirlpool Refrigerator Egg Container13WP2179243 Whirlpool Refrigerator Pan Trim15Shelf, Snack Bin16WP3-24004-109 Whirlpool Refrigerator Screw17WP3400806 Whirlpool Screw18W11497323 Whirlpool Snack Pan20W11223328 Whirlpool Refrigerator Shelf Stud21WP2196483 Whirlpool Refrigerator Shelf Stud