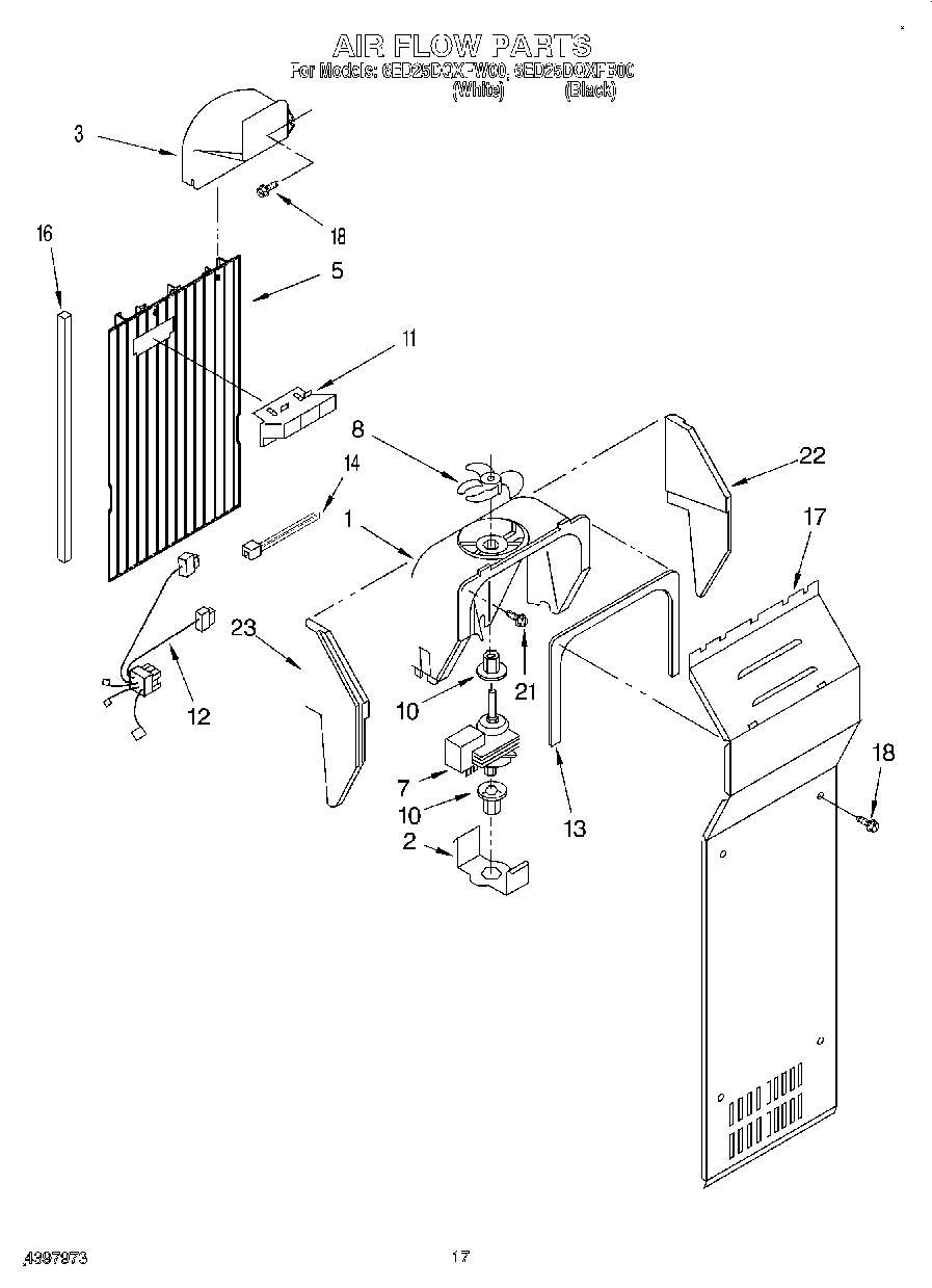
6ED25DQXFB00 10 – AIR FLOWadmin2025-04-26T12:19:25+00:006ED25DQXFB00 10 – AIR FLOW ProductsPositionProduct1WP2182120 Whirlpool Refrigerator Scroll Fan2WP2155590 Whirlpool Refrigerator Retainer3Air Scoop5Air Duct Freezer7Fan, Motor8WP2169142 Whirlpool Fan Blade10WP2176759 Whirlpool Refrigerator Grommet112182146 Whirlpool Refrigerator Duct12Harness, Fan Evaporator, And Heater, Bi-Metal13WP2155789 Whirlpool Refrigerator Gasket14WPW10339879 Whirlpool Wire Tie16WP2304241 Whirlpool Refrigerator Gasket17Cover, Evaporator18SCREW21WP489478 Whirlpool Refrigerator Screw234388358 Whirlpool Refrigerator Support Bracket