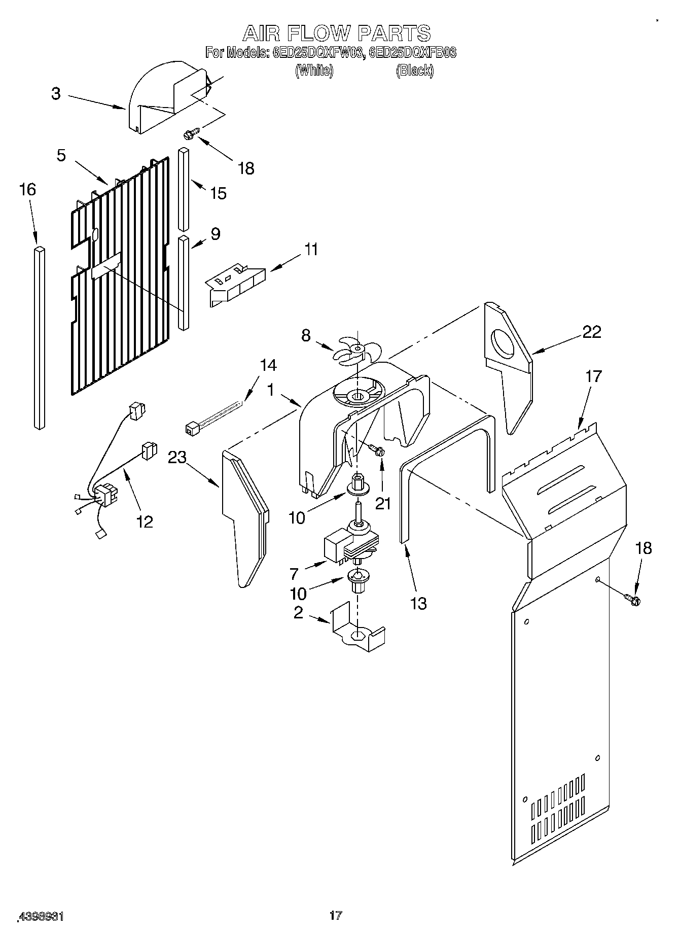
6ED25DQXFB03 10 – AIRFLOW