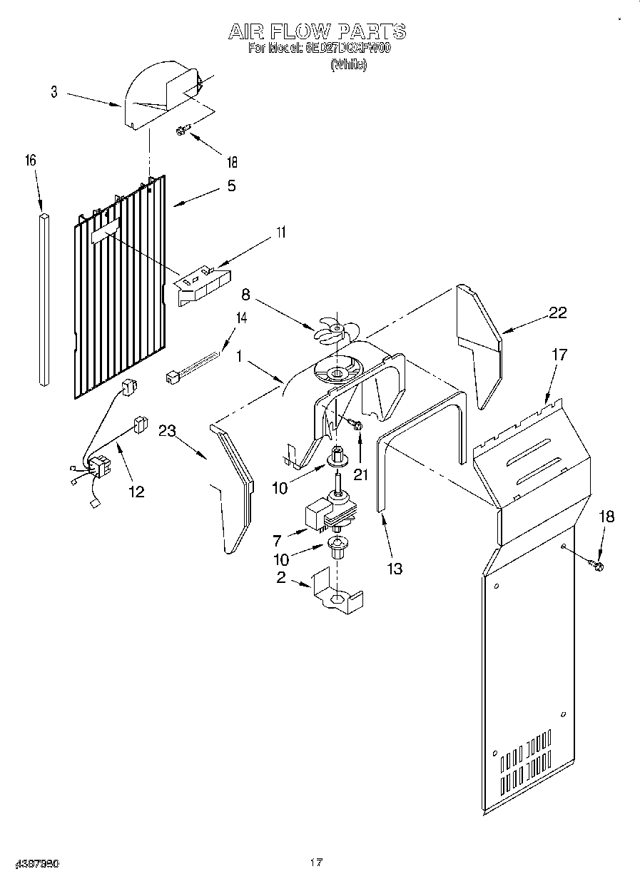
6ED27DQXFW00 10 – AIR FLOW