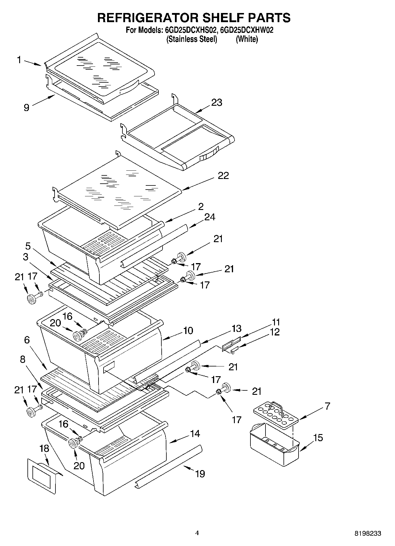
6GD25DCXHS02 03 – REFRIGERATOR SHELF