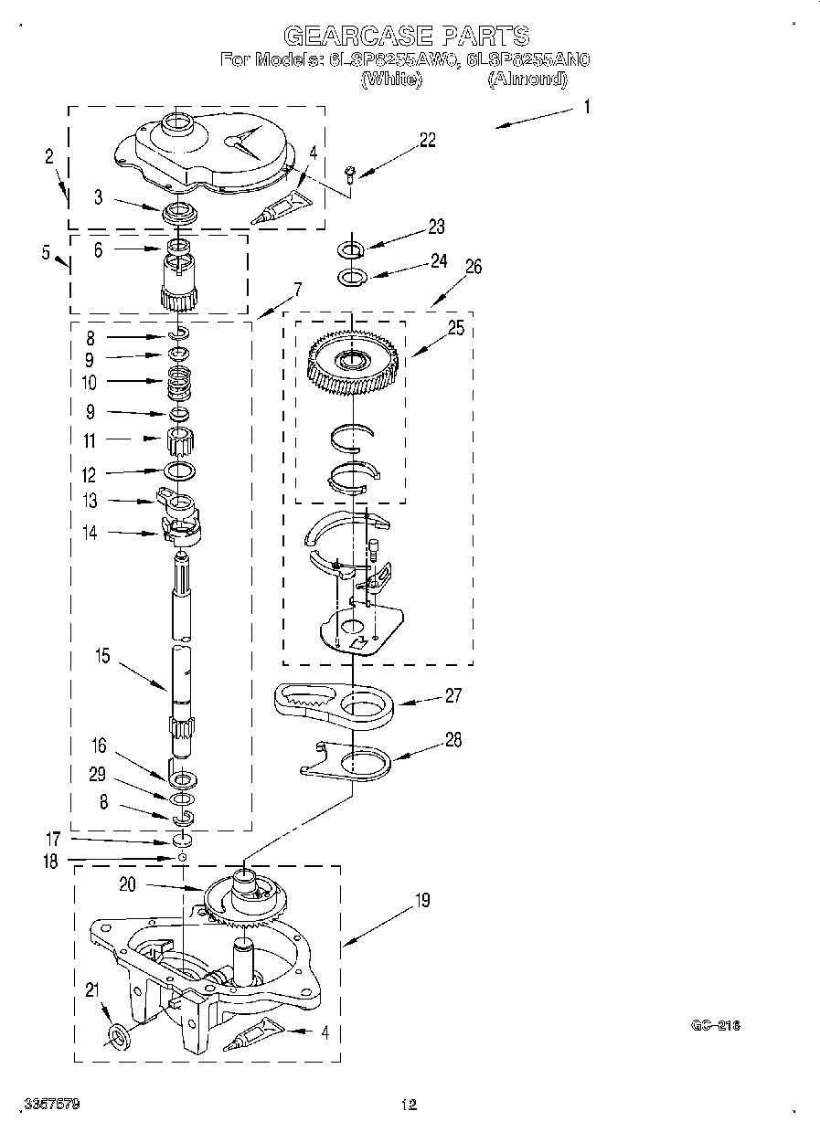
6LSP8255AN0 09 – GEARCASEadmin2025-04-26T12:36:12+00:006LSP8255AN0 09 – GEARCASE ProductsPositionProduct13363395 Whirlpool Gearcase2285202 Whirlpool Cover Assembly3WP3349985 Whirlpool Shaft Seal4WP285195 Whirlpool Sealer Assembly6WP356427 Whirlpool Shaft Seal8Ring, Retaining (2)962677 Whirlpool Retainer10Spring, Agitator1262619 Whirlpool Washer15WP389387 Whirlpool Agitator Shaft16Washer, Cam Thrust17285205 Whirlpool Bearing19Bottom and Pinion, Gearcase20Gear, Main Drive21285352 Whirlpool Washer Oil Seal Kit for Gearcase Input Shaft22WP3351614 Whirlpool Screw23Ring, Retaining24Washer Kit, Thrust25WPW10233584 Whirlpool Spin Gear26NEUTRL-PAK273360629 Whirlpool Washer Gearcase Transmission29WP388815 Whirlpool Washer