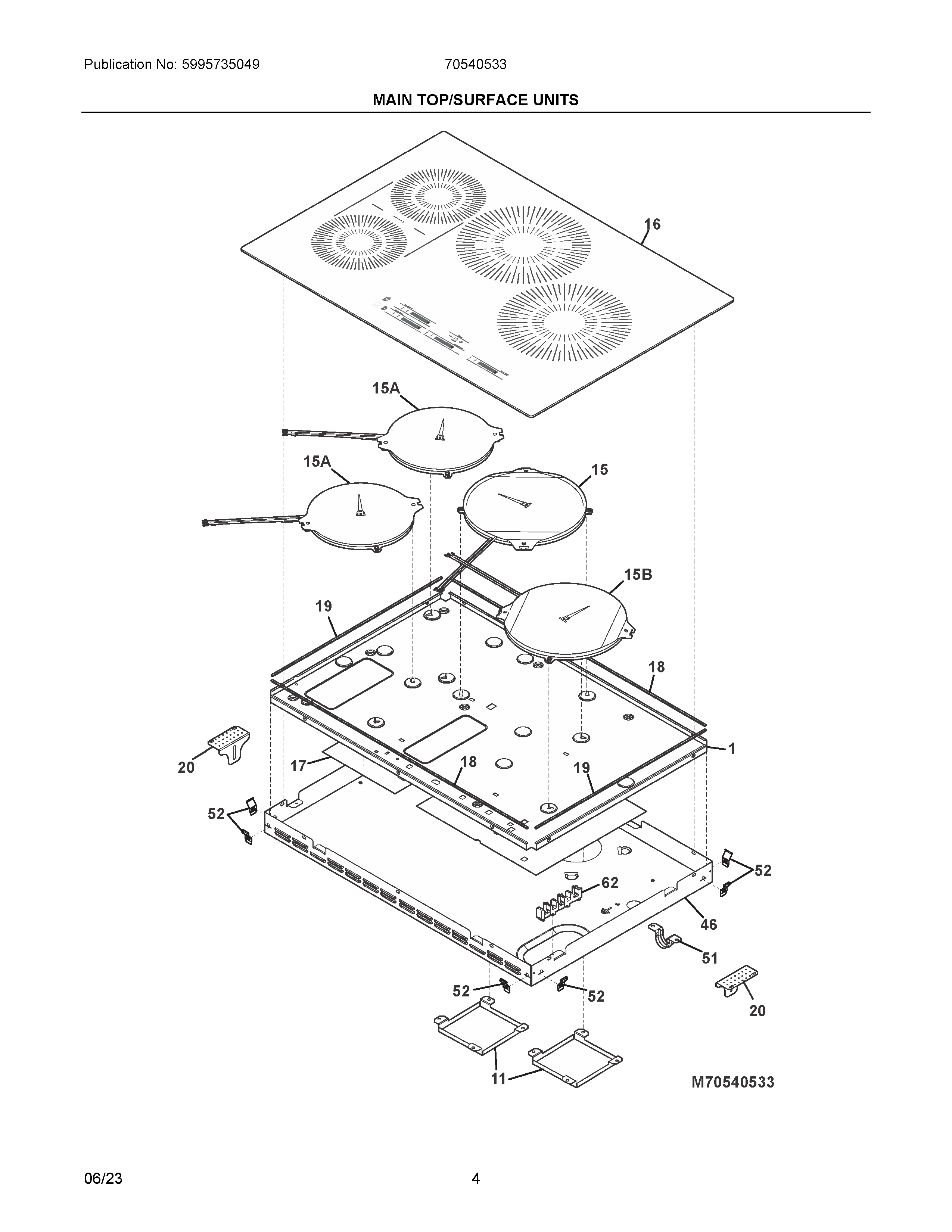
70540533 03 – MAIN TOP/SURFACE UNITSadmin2025-04-26T08:48:44+00:0070540533 03 – MAIN TOP/SURFACE UNITS
Products
| Position | Product |
|---|
| NIA | SCREW, 8 X 5/8, SPARK MODULE |
| NI | SCREW, ST, 4.2 : 12, (9) |
| NIB | NUT, TERMINAL BLOCK, (2) |
| NIA | SCREW, M4 |
| NIC | 305452800 Frigidaire Screw |
| NI | 5304462994 Frigidaire Oven Screw |
| NIB | 5303307980 Frigidaire Oven Screw |
| NI | 330447900 Frigidaire Oven Screw |
| 1 | CARRIER, INDUCTION COILS |
| 11 | COVER, FAN |
| 15B | 357249669 Frigidaire Element |
| 15 | 357227574 Frigidaire Oven Element |
| 15A | 357226372 Frigidaire Element |
| 16 | MAINTOP, ASSEMBLY, GLASS/STEEL, BLACK |
| 17 | INSULATION, MICA SHEET |
| 18 | TAPE, MAINTOP, 30" |
| 19 | TAPE, MAINTOP, SIDES |
| 20 | BRACKET |
| 46 | 5304527608 Frigidaire Box |
| 51 | 318389600 Frigidaire Bracket Assembly |
| 52 | 387174602 Frigidaire Oven Bracket |
| 62 | 5304409888 Frigidaire Oven Terminal Block with Hardware |