72-3651-23-07 04 – BURNERadmin2025-04-26T08:48:43+00:0072-3651-23-07 04 – BURNER
Products
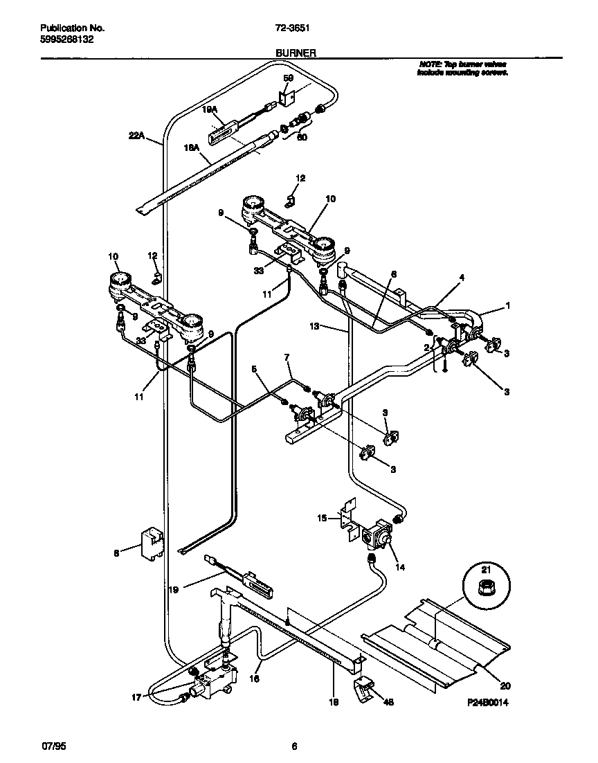
| Position | Product |
|---|
| 1 | WCI 316066201 |
| 2 | VALVE-TOP BURNER, 3 POSITION, (4), W/SCREW |
| 3 | SWITCH-IGNITER, (4) |
| 3A | HARNESS-WIRING, IGNITER SW./MDL (NOT ILLUSTRATED) |
| 4 | TUBE-BURNER, RF |
| 5 | TUBE-BURNER, LF |
| 6 | TUBE-BURNER, RR |
| 7 | TUBE-BURNER, LR |
| 8 | 5303912606 Frigidaire Oven Range Spark Module 2+0 4 Large Terminals |
| 9 | NUT, SPECIAL |
| 10 | WCI 316057100 |
| 11 | IGNITER-TOP BURNER, BASE, (2) |
| 12 | WCI 3018617 |
| 13 | WCI 316065005 |
| 14 | 5303935125 Frigidaire Pressure Regulator |
| 15 | 316091600 Frigidaire Oven Bracket |
| 16 | WCI 316065003 |
| 17 | 5303208499 Frigidaire Safety Gas Valve |
| 18 | WCI 5303131634 |
| 18A | BURNER-UPPER OVEN |
| 19 | 5303935066 Frigidaire Oven Flat Igniter 17" Leads |
| 19A | IGNITER-UPPER OVEN |
| 20 | WCI 3203265 |
| 21 | 5303013272 Frigidaire Oven Nut |
| 22A | WCI 316065001 |
| 33 | BRACKET BURNER MTG |
| 48 | WCI 3018603 |
| 59 | BRKT-CONNEC MTG |
| 60 | WCI 316070300 |