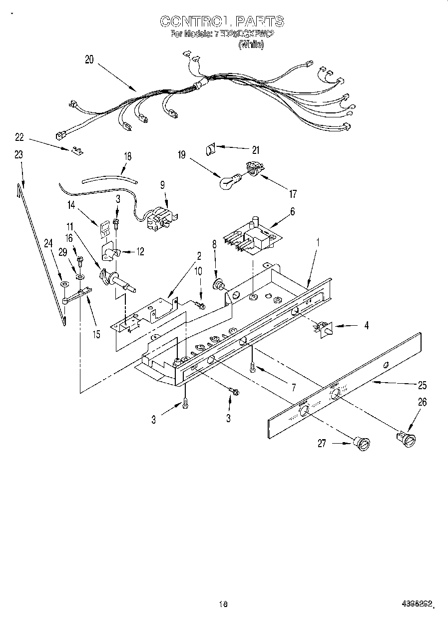
7ED25DQXFW02 11 – CONTROLadmin2025-04-26T12:35:27+00:007ED25DQXFW02 11 – CONTROL ProductsPositionProduct1Control Box2Mounting Bracket3WP3196557 Whirlpool Screw4WP2149705 Whirlpool Refrigerator Door Switch64388932 Whirlpool Refrigerator Adaptive Defrost Timer Kit7489392 Whirlpool Refrigerator Screw8940014 Whirlpool Refrigerator Primary Button Plug9WP2198202 Whirlpool Refrigerator Temperature Thermostat10WP965173 Whirlpool Dishwasher Screw11WP2182195 Whirlpool Refrigerator Cam121110560 Whirlpool Refrigerator Bearing14WP2196062 Whirlpool Refrigerator Clip15Pivot Arm16627068 Whirlpool Refrigerator Screw174387478 Whirlpool Refrigerator Light Socket18WP2196003 Whirlpool Refrigerator Bar Riser19RANGE ONLY 40W 120V APPL BULB20Control Box Harness21WP1115374 Whirlpool Refrigerator Clip22CLIP, WIRING23Connecting Rod24Fastener, Push-On25Escutcheon, Control Box262182111 Whirlpool Refrigerator Thermal Knob27Knob, Air Control29489203 Whirlpool Refrigerator Washer