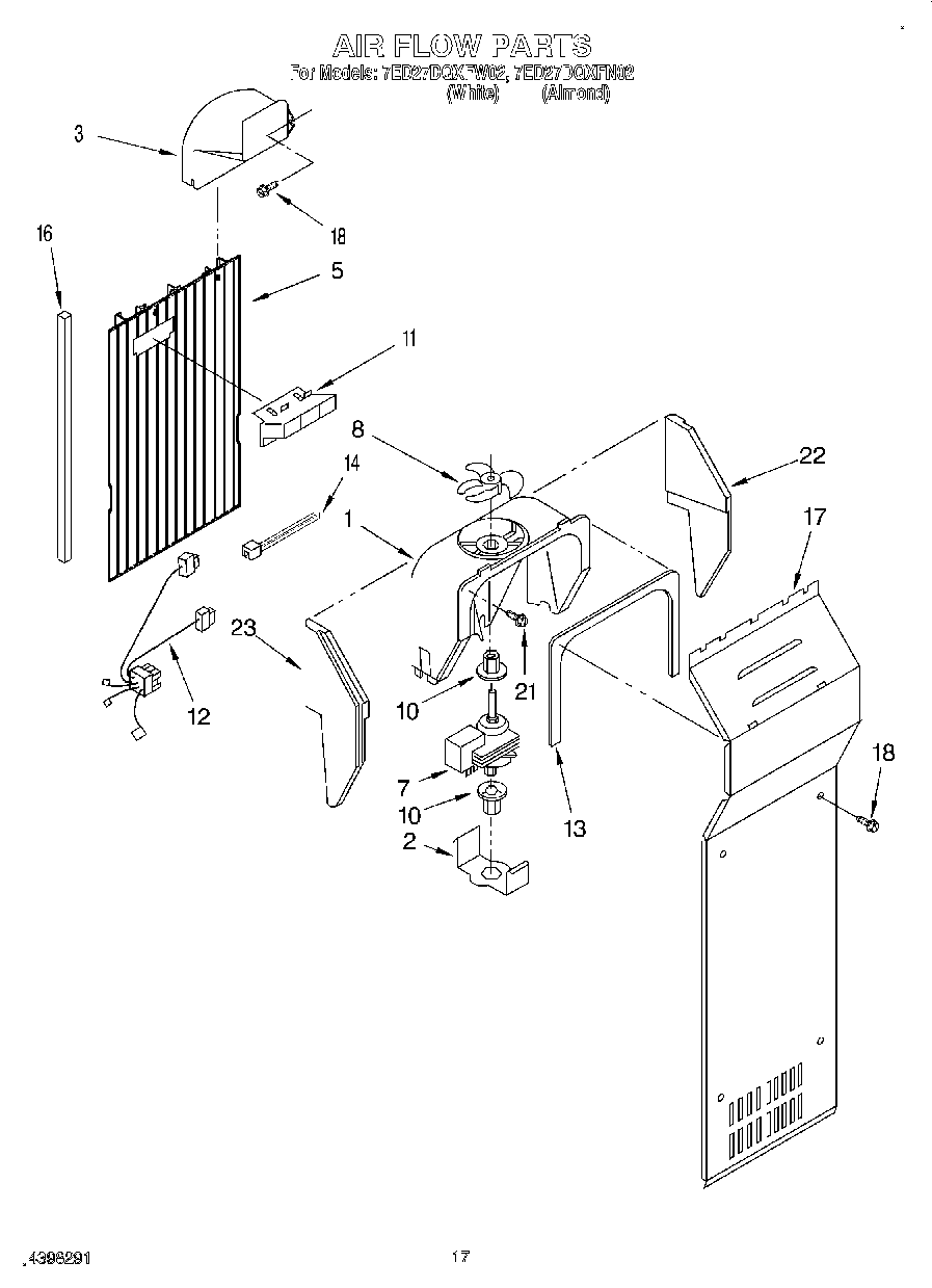
7ED27DQXFW02 10 – AIR FLOW