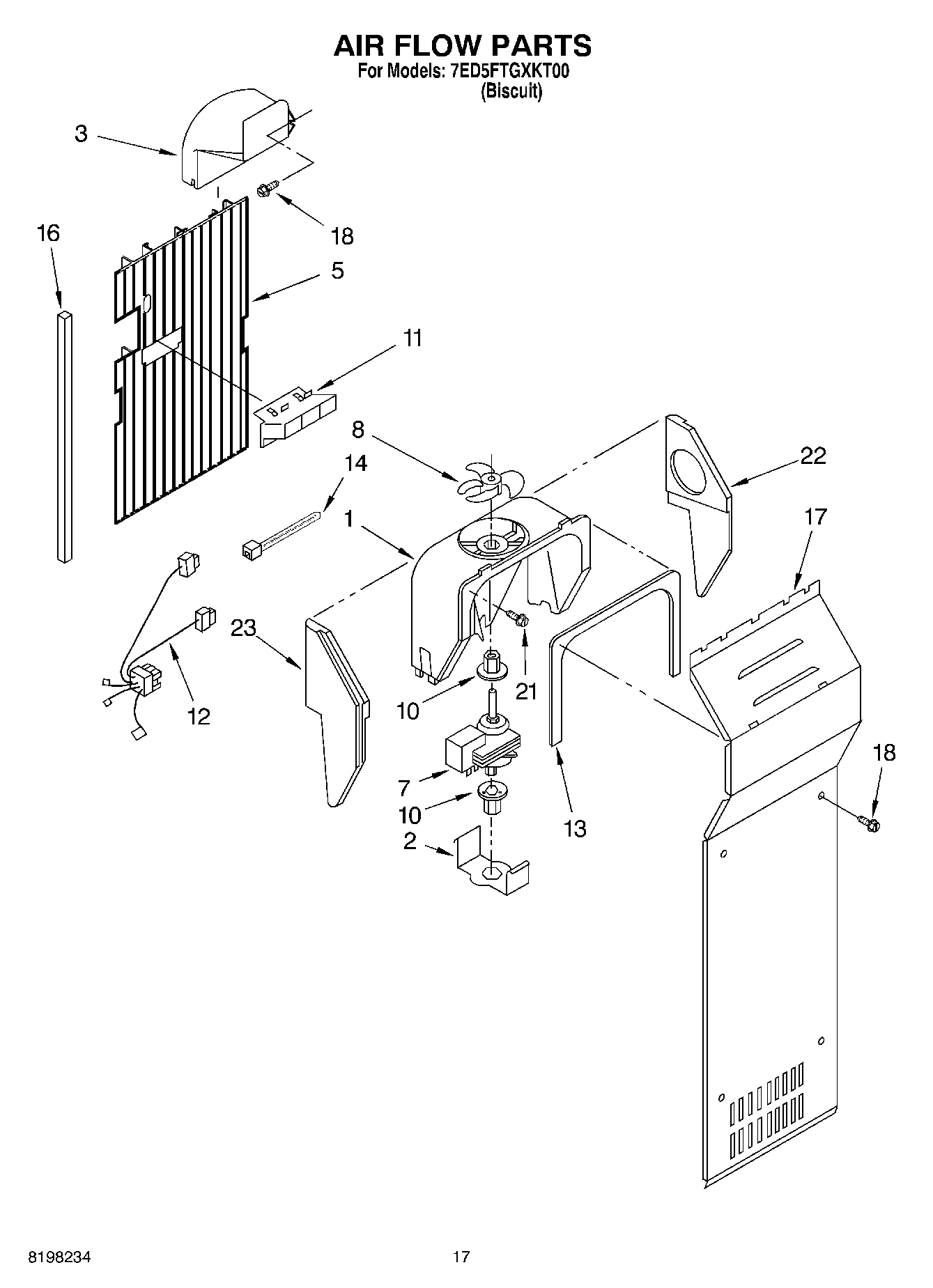
7ED5FTGXKT00 10 – AIR FLOW