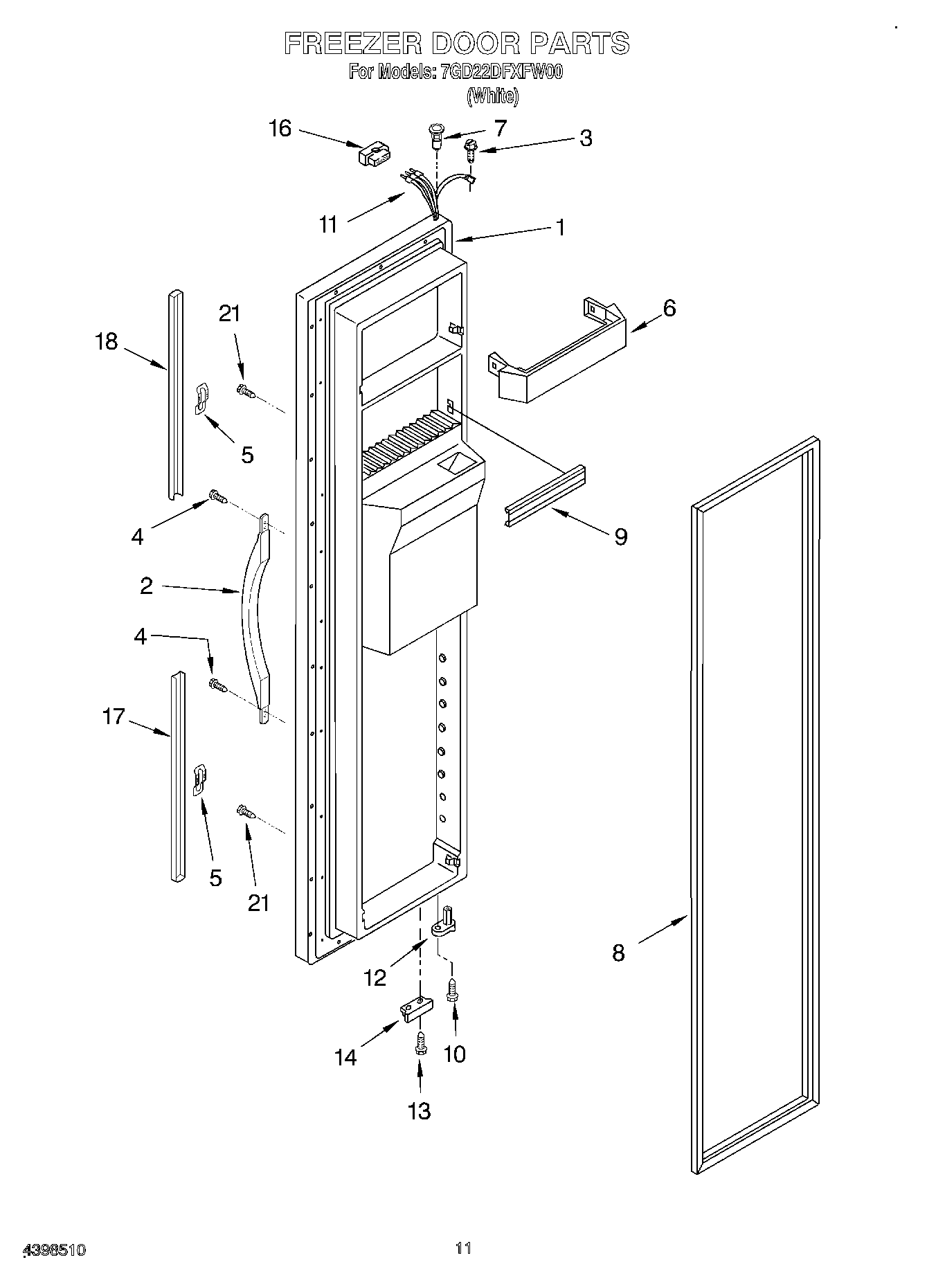
7GD22DFXFW00 08 – FREEZER DOOR