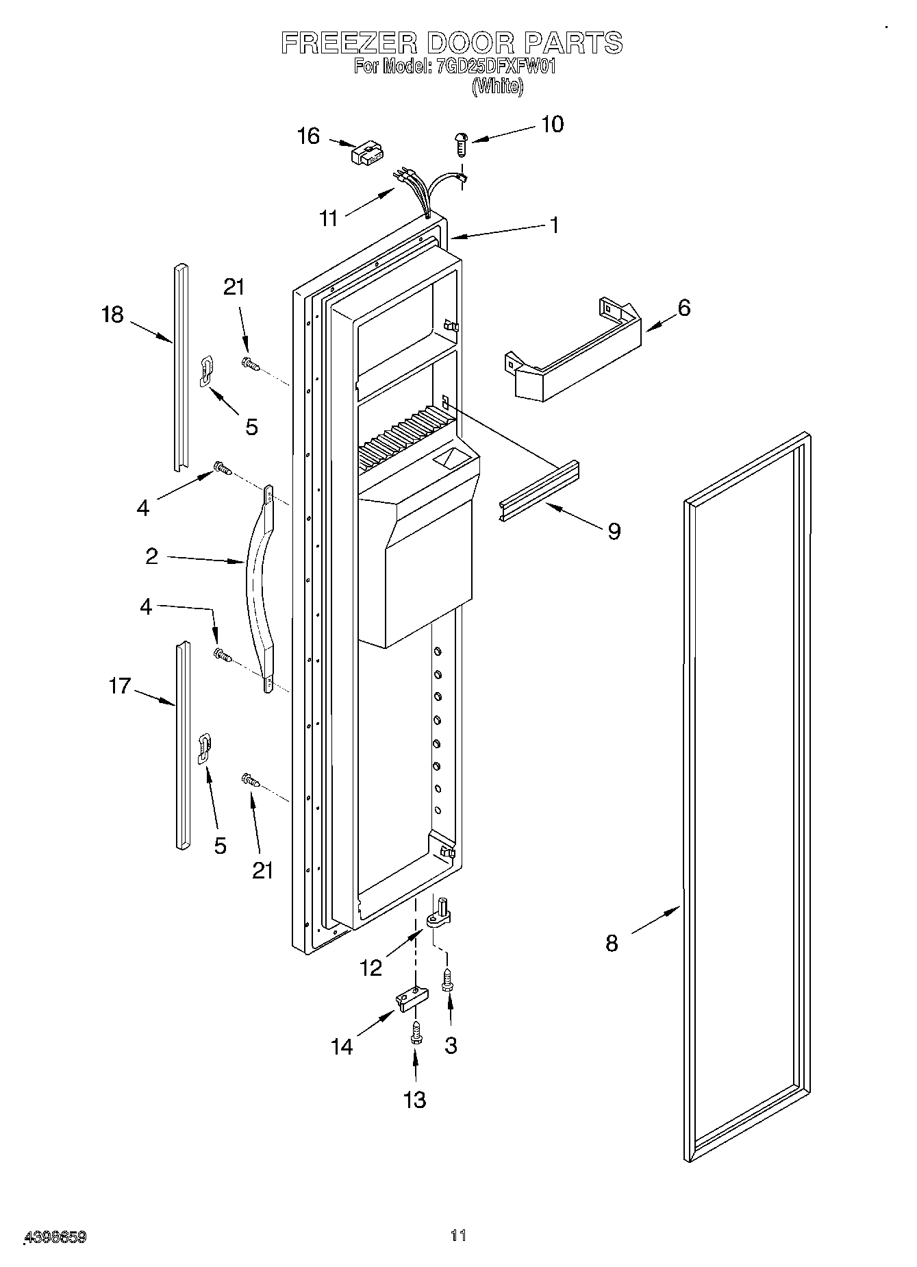
7GD25DFXFW01 07 – FREEZER DOOR