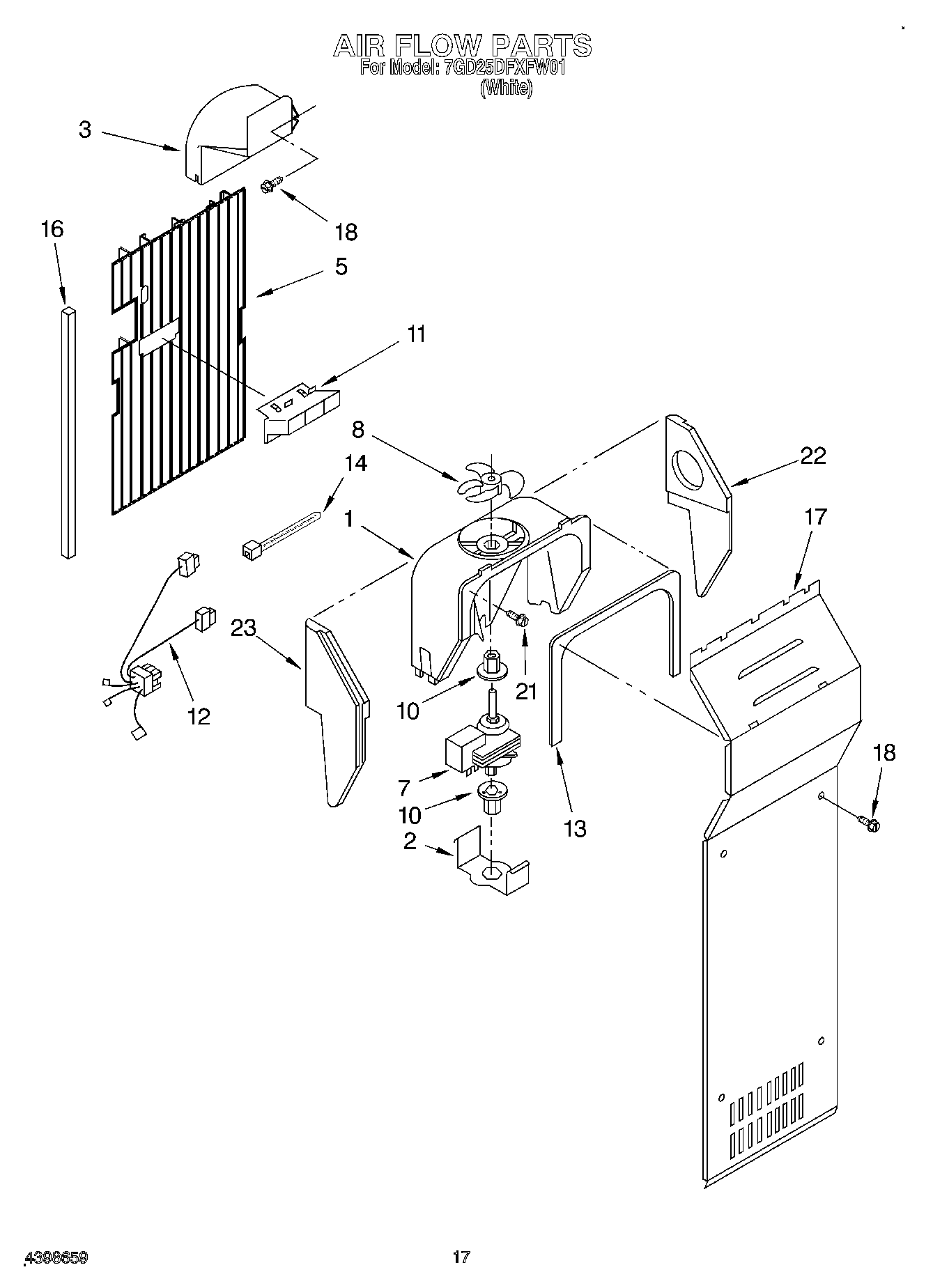
7GD25DFXFW01 10 – AIR FLOW