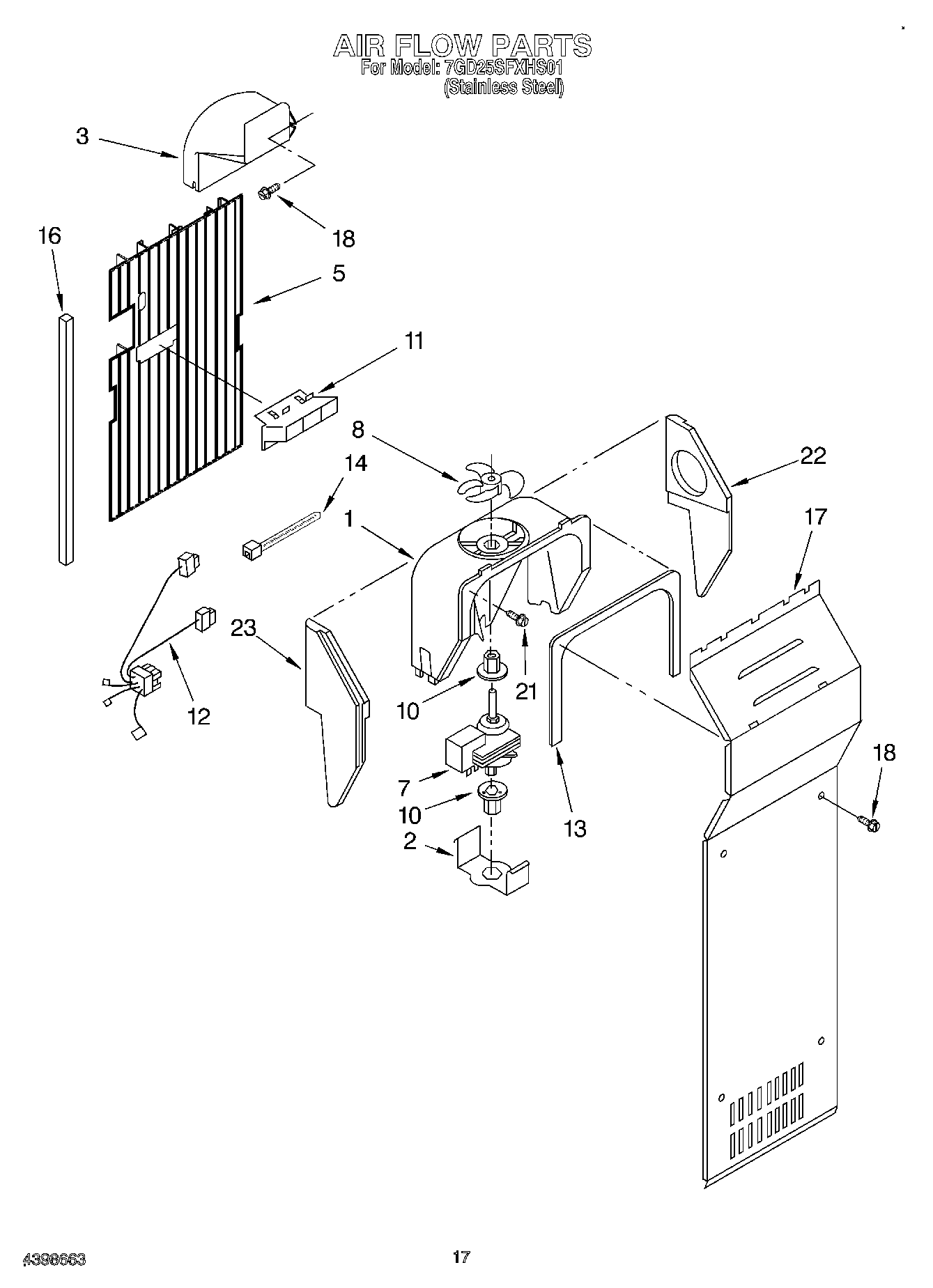
7GD25SFXHS01 10 – AIR FLOW