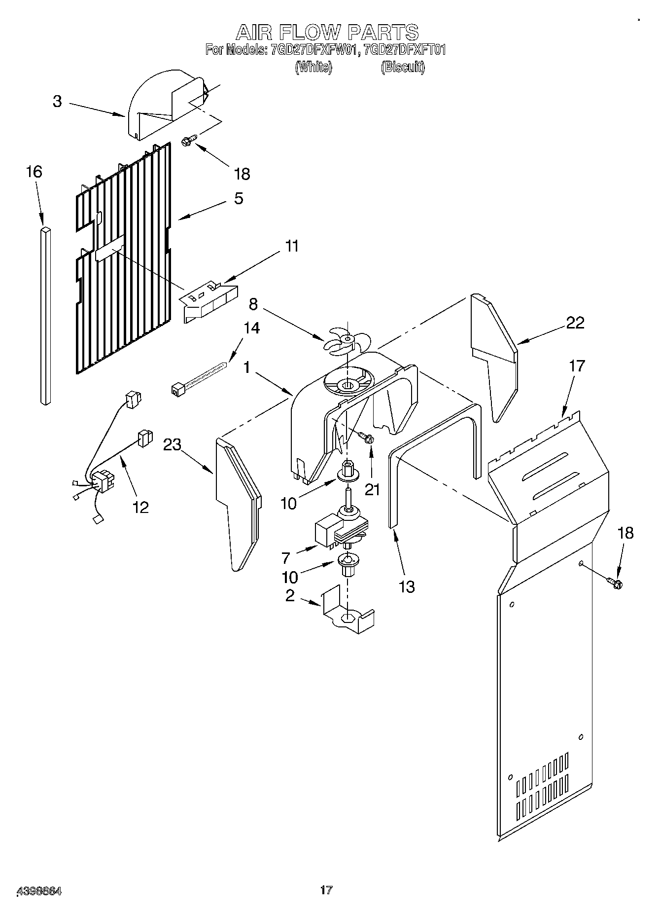
7GD27DFXFT01 10 – AIR FLOW