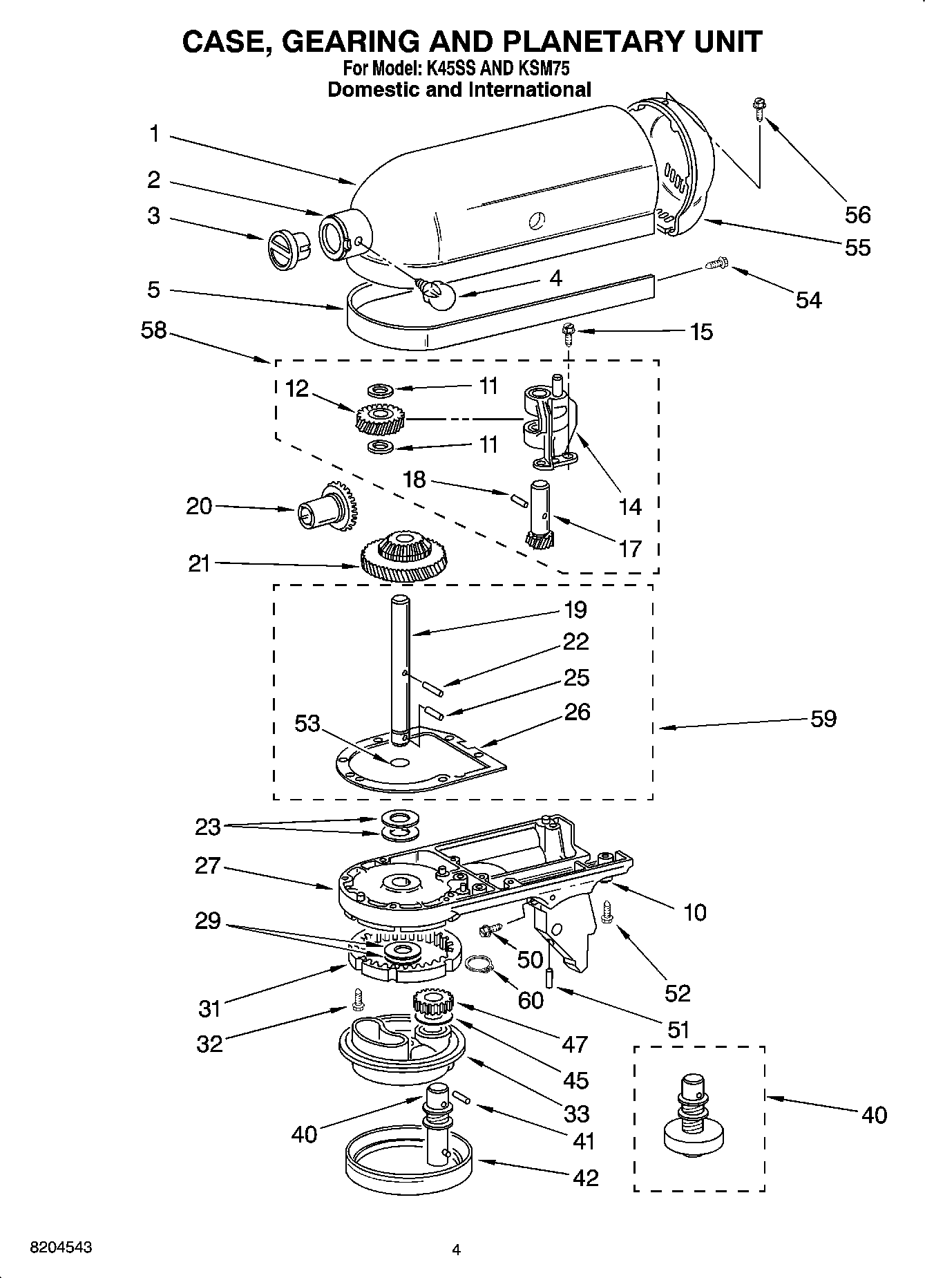
7K45SS 04 – CASE, GEARING AND PLANETARY