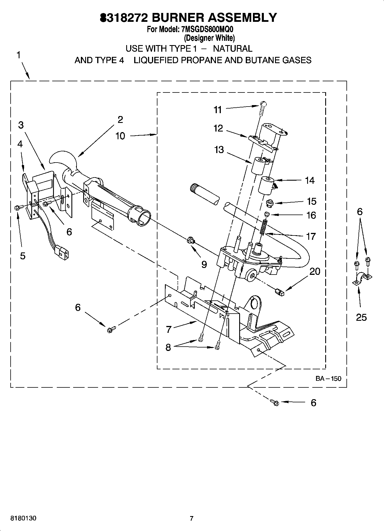
7MSGDS800MQ0 04 – 8318272 BURNER ASSEMBLYadmin2025-04-26T12:57:18+00:007MSGDS800MQ0 04 – 8318272 BURNER ASSEMBLY ProductsPositionProduct1W10823508 Whirlpool Gas Burner2WP693140 Whirlpool Burner3WP694298 Whirlpool Bracket4279311 Whirlpool Dryer Flat Igniter with Bracket5WPW10366705 Whirlpool Screw6SCREW7Base, Burner8WP693995 Whirlpool Screw9WP229742 Whirlpool Gas Orifice9WP234868 Whirlpool Gas Orifice9WP234826 Whirlpool Gas Orifice10WP8318277 Whirlpool Gas Valve11694421 Whirlpool Screw Assembly12694538 Whirlpool Bracket14279834 Whirlpool Dryer Gas Valve Solenoid Coil Kit15WP694424 Whirlpool Limiter16WP694423 Whirlpool Regulator17WP694422 Whirlpool Spring20W10295523 Whirlpool Plug2549572A Whirlpool Dryer Propane Gas Conversion Kit25341029 Whirlpool Clamp25FOLLOWING PARTS NOT ILLUSTRATED