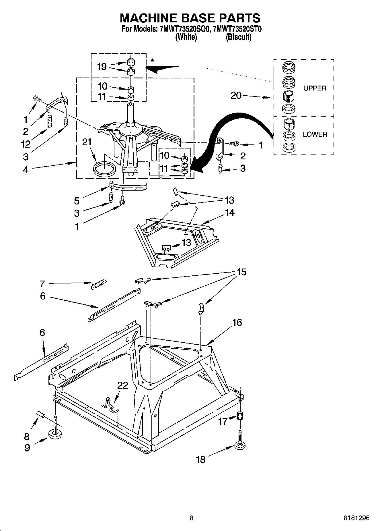
7MWT73520SQ0 05 – MACHINE BASE PARTS