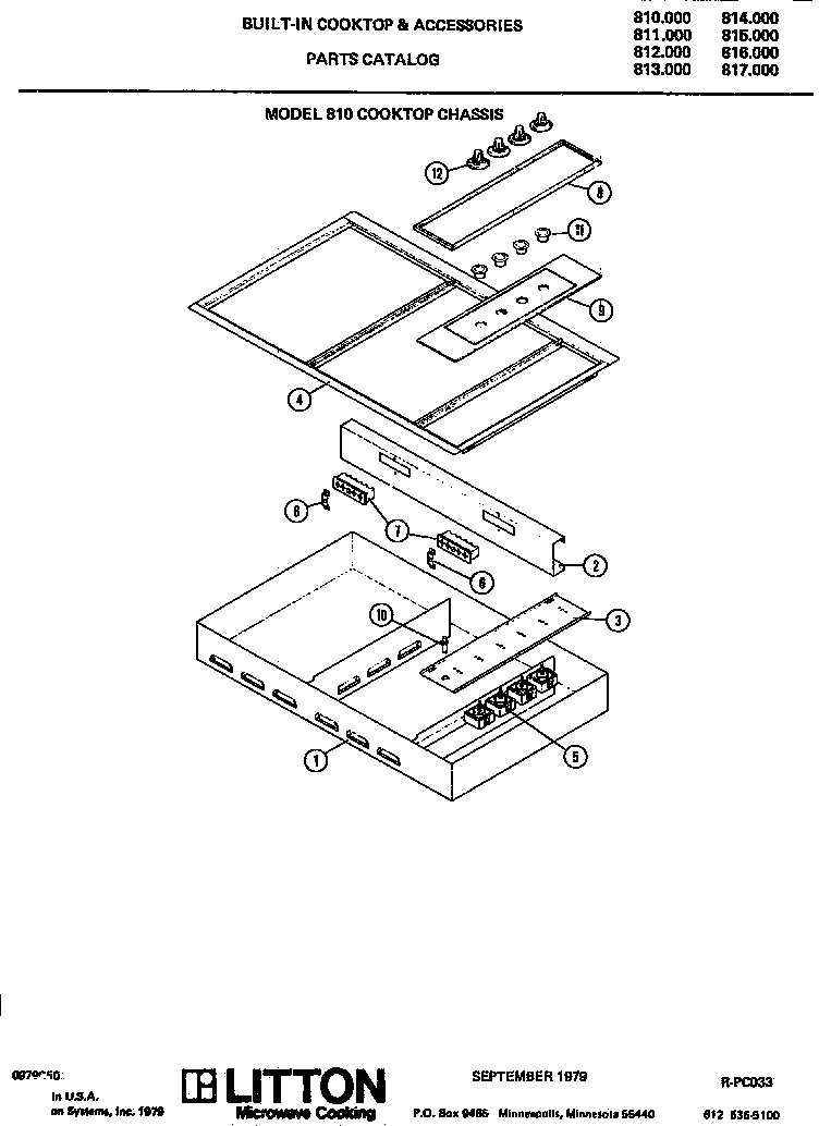
814.000 01 – COOKTOP CHASSISadmin2025-04-26T11:02:30+00:00814.000 01 – COOKTOP CHASSIS ProductsPositionProductORDER GRAPHICS PANEL FROM THE SOURCE WHERE THE DRYER WAS PURCHASED. INCLUDE THECOMPLETE MODEL AND SERIAL NUMBERS WITH ORDER.1MAY M2D4311MAY M80D752MAY M52D1783MAY M20D1474MAY M1D8124MAY M52D1775MAY M1D8105MAY M14D2046MAY M1D8206MAY M2D4167MAY M5D2568MAY M7D3969MAY M7D39710MAY M9D9011MAY M2D41512MAY M6D95