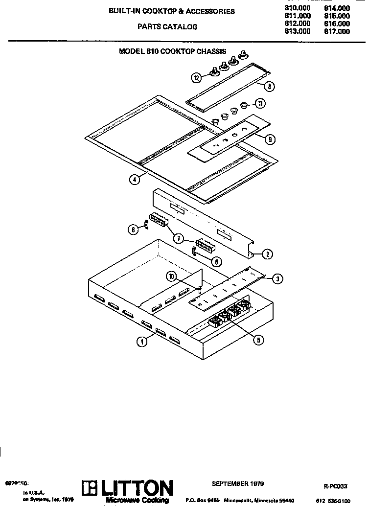
817.000 01 – COOKTOP CHASSIS