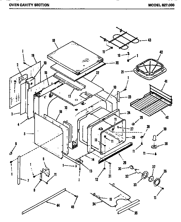
827.000 02 – OVEN CAVITY SECTIONadmin2025-04-26T11:02:53+00:00827.000 02 – OVEN CAVITY SECTION ProductsPositionProduct1MAY M1D7062MAY M20D2273MAY M52D2054MAY M52D2065MAY M72D795MAY M72D786MAY M2D6237MAY M75D1028MAY M8D2709MAY M8D27110MAY M63D2411MAY M1D86212MAY M1D32413MAY M20D22814MAY M72D8015MAY M1D53116MAY M72D8117MAY M20D22918MAY M72D8219MAY M2D61220MAY M82D17622MAY M82D17723MAY M8D27224MAY M82D17325MAY M2D61326MAY M2D61827MAY M2D61928MAY M77D12029MAY M75D10030MAY M5D35731MAY M1D7132MAY M9D4933MAY M25D7134MAY M61D6335MAY M20D22036MAY M8D26337MAY M6D9338MAY M8D27339MAY M2D61440MAY M67D3441MAY M67D3542MAY M67D2843MAY M61D6244MAY M75D10445MAY M1D471