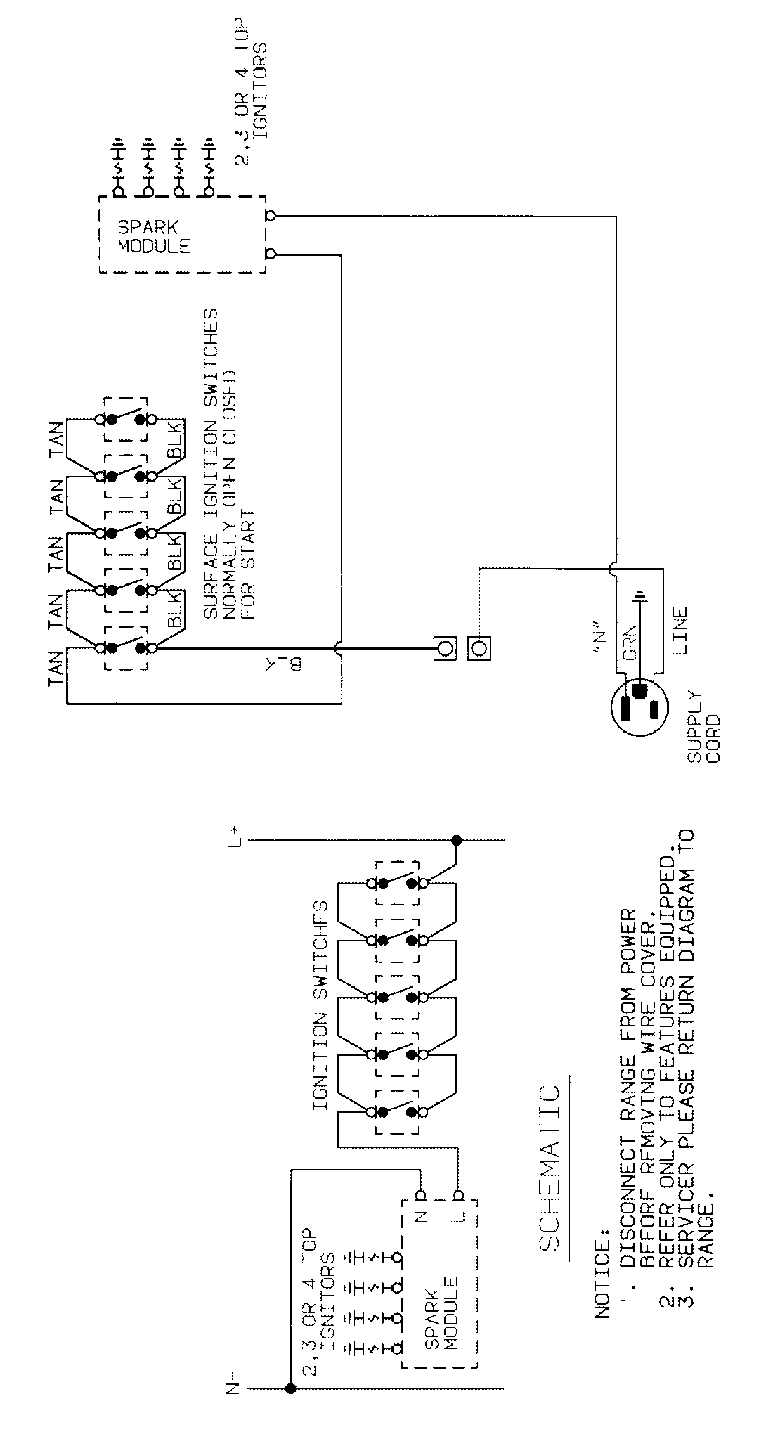
8311PA 03 – WIRING INFORMATIONadmin2025-04-26T11:04:46+00:008311PA 03 – WIRING INFORMATION ProductsPositionProductNIMAY 15001198