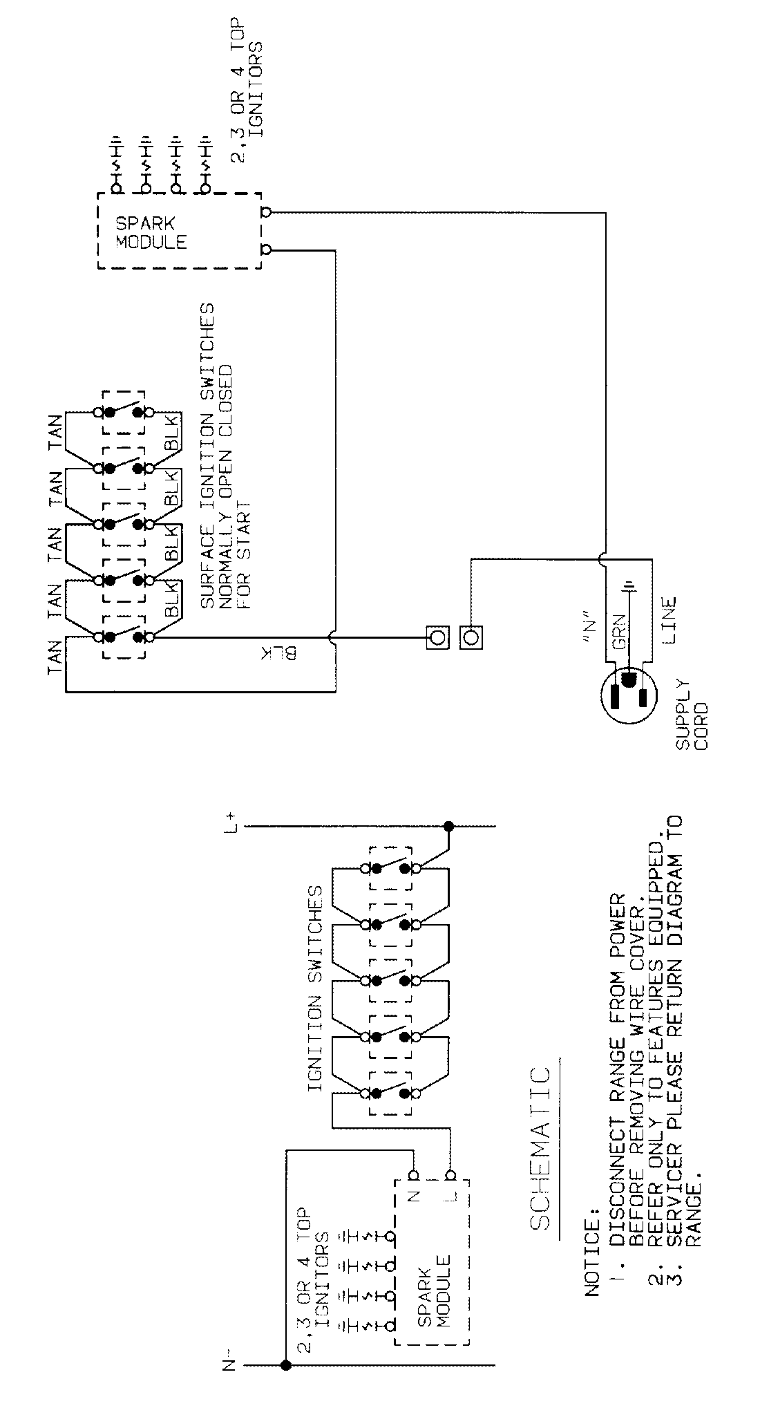
8311PS 03 – WIRING INFORMATIONadmin2025-04-26T11:03:51+00:008311PS 03 – WIRING INFORMATION ProductsPositionProductNIMAY 15001198