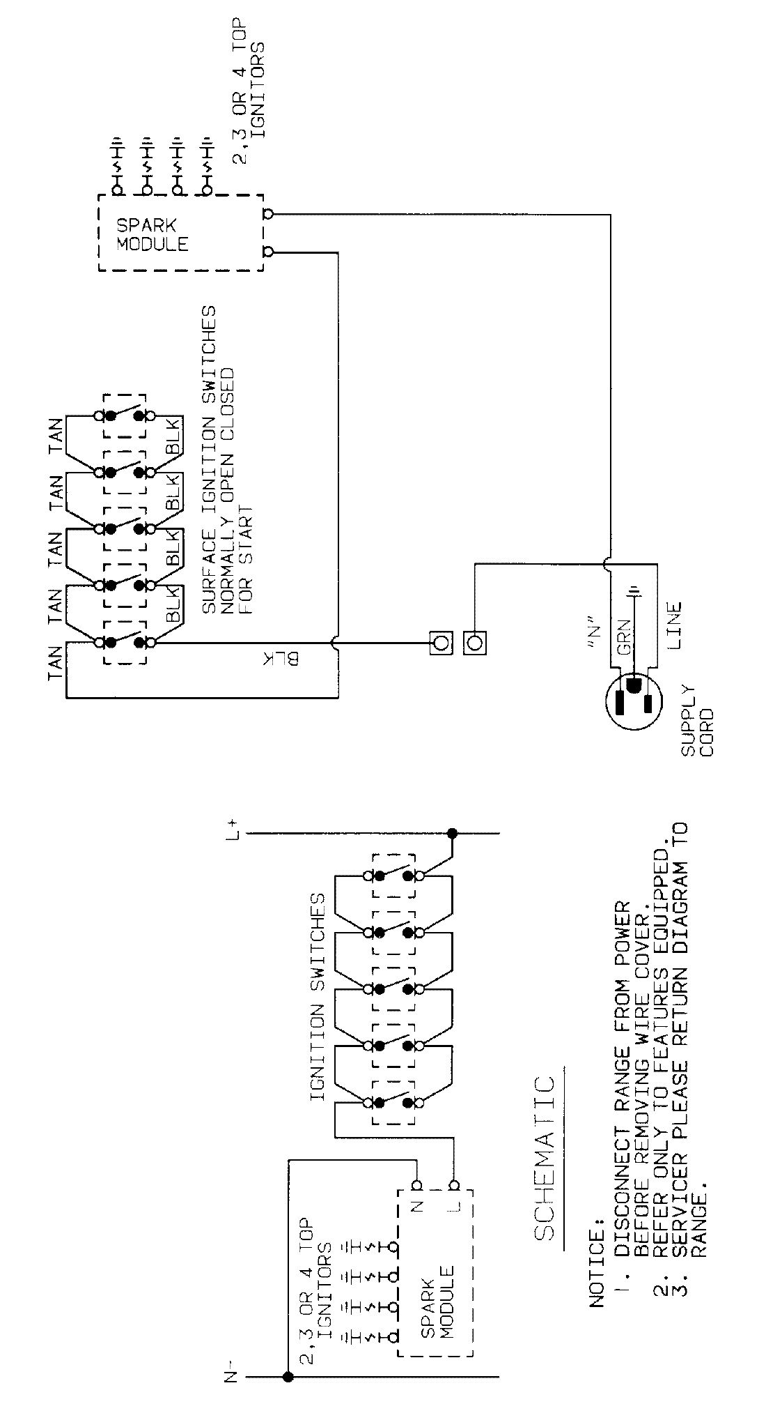
8311TS 03 – WIRING INFORMATIONadmin2025-04-26T11:03:18+00:008311TS 03 – WIRING INFORMATION ProductsPositionProductNIMAY 15001198