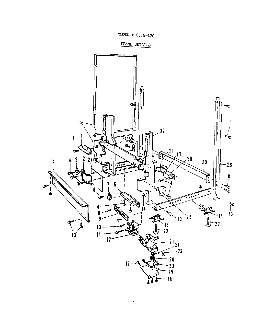
8515L20 07 – FRAME