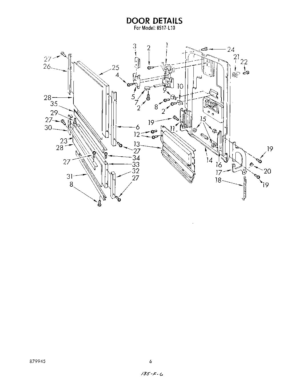
| 1 | Latch Assembly |
| 2 | Screw, No.8-32 x 5/16 |
| 3 | Switch Cover |
| 4 | Screw, No.6-32 x 1 |
| 5 | Switch |
| 6 | Door Panel Trim (R.H) |
| 7 | Latch Knob |
| 8 | WP965173 Whirlpool Dishwasher Screw |
| 9 | Clamp, Wire |
| 10 | Grounding Terminal |
| 11 | Counterbal Arm Assembly (L.H) |
| 13 | Vent Plate Assembly |
| 14 | Porcelain Weld Assembly |
| 15 | Nut |
| 16 | Counterbalance Mounting Bracket |
| 17 | Counterbal. Arm Assembly |
| 18 | Door Spring |
| 19 | Screw, No.8 x 5/8 |
| 20 | Spring Pad |
| 21 | Door Guide |
| 22 | Screw, No.8 x 5/8 |
| 23 | Access Panel Trim Top |
| 24 | WP355214 Whirlpool Screw |
| 25 | Door Panel |
| 26 | Door Panel Trim (L.H) |
| 27 | Screw, No.6 x 1/4 |
| 28 | Door and Access Panel Inserts (Black) |
| 28 | Door & Access Panel Inserts (Avocado) |
| 28 | Door & Access Panel Inserts (Coffee) |
| 28 | Door & Access Panel Inserts (Wheat) |
| 28 | Door & Access Panel Inserts (Almond) |
| 29 | WP488729 Whirlpool Refrigerator Door Screw |
| 30 | Access Panel Trim (L.H) |
| 31 | Access Panel Trim (Bottom) |
| 32 | Access Panel Trim (R.H) |
| 33 | Access Panel (White) |
| 34 | Screw, No.8 x 3/8 |
| 35 | Door Panel Trim (Bottom) |