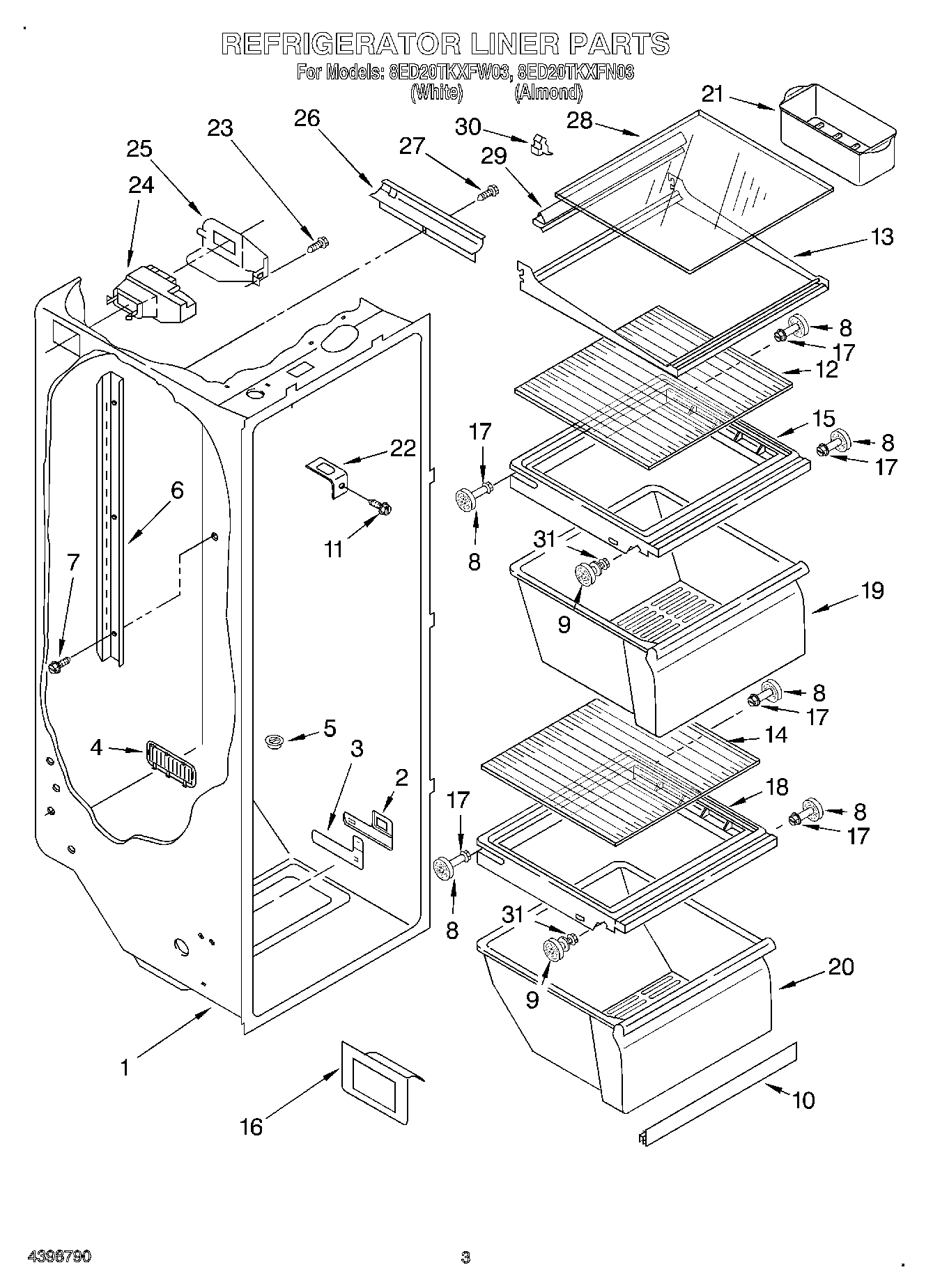
8ED20TKXFW03 02 – REFRIGERATOR LINERadmin2025-04-26T10:55:45+00:008ED20TKXFW03 02 – REFRIGERATOR LINER ProductsPositionProduct1Liner (Not A Serviceable Part)22194744 Whirlpool Refrigerator Escutcheon32182757 Whirlpool Refrigerator Slide4Louver52171846 Whirlpool Refrigerator Release Valve6Ladder, Shelf7WP488729 Whirlpool Refrigerator Door Screw8WP2196483 Whirlpool Refrigerator Shelf Stud9W11223328 Whirlpool Refrigerator Shelf Stud10Extension, Cover11WP488488 Whirlpool Refrigerator Screw12W10864399 Whirlpool Glass Shelf13Shelf, Cantilever162179350 Whirlpool Refrigerator Deflector17WP3400806 Whirlpool Screw18W10508993 Whirlpool Refrigerator Cover Pan19WP2188661 Whirlpool Crisper Pan20WP2188664 Whirlpool Dishwasher Meat Crisper Pan21W10136387A Whirlpool Refrigerator Egg Container22WP2256085 Whirlpool Refrigerator Retainer23WP489478 Whirlpool Refrigerator Screw24WPW10151374 Whirlpool Refrigerator Diffuser252152019 Whirlpool Refrigerator Cover26Cover, Conduit27W10759522 Whirlpool Screw28Glass, Shelf29Retainer302215823 Whirlpool Refrigerator Clip31WP3-24004-109 Whirlpool Refrigerator Screw