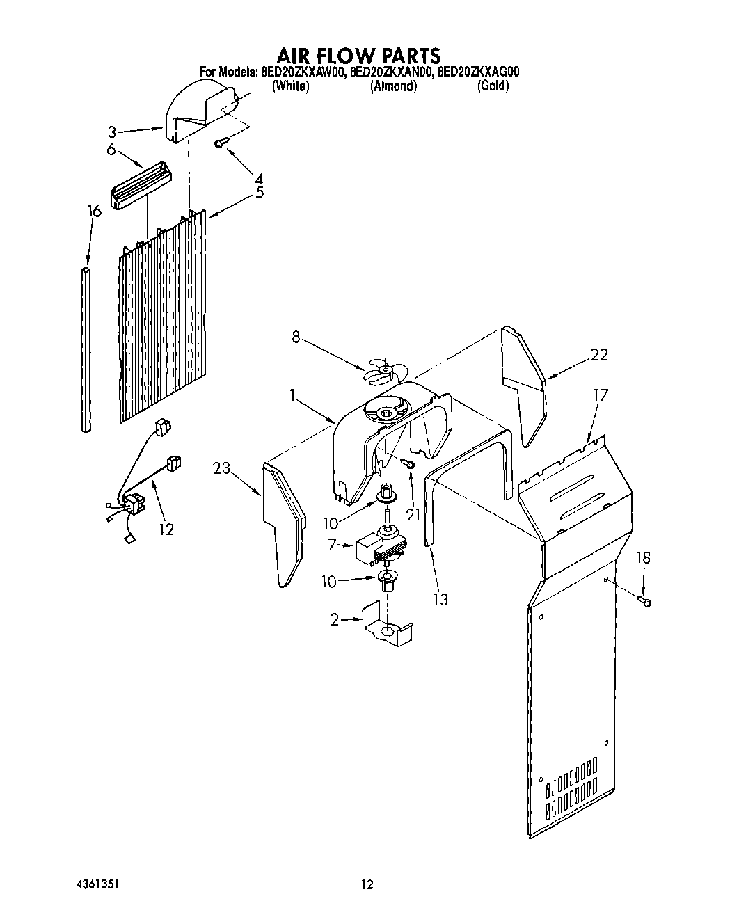
8ED20ZKXAN00 08 – AIR FLOWadmin2025-04-26T10:56:15+00:008ED20ZKXAN00 08 – AIR FLOW ProductsPositionProduct1W11254898 Whirlpool Refrigerator Scroll Fan2WP2155590 Whirlpool Refrigerator Retainer3Air Scoop4WP488729 Whirlpool Refrigerator Door Screw54388357 Whirlpool Refrigerator Evaporator Cover6Diffuser, Air Duct74389144 Whirlpool Refrigerator Evaporator Fan Motor8WP2169142 Whirlpool Fan Blade10Grommet, Fan (2)12Harness, Fan Evaporator, And Heater, Bi-Metal13WP2155789 Whirlpool Refrigerator Gasket16WP2304241 Whirlpool Refrigerator Gasket18SCREW21WP489478 Whirlpool Refrigerator Screw224388358 Whirlpool Refrigerator Support Bracket