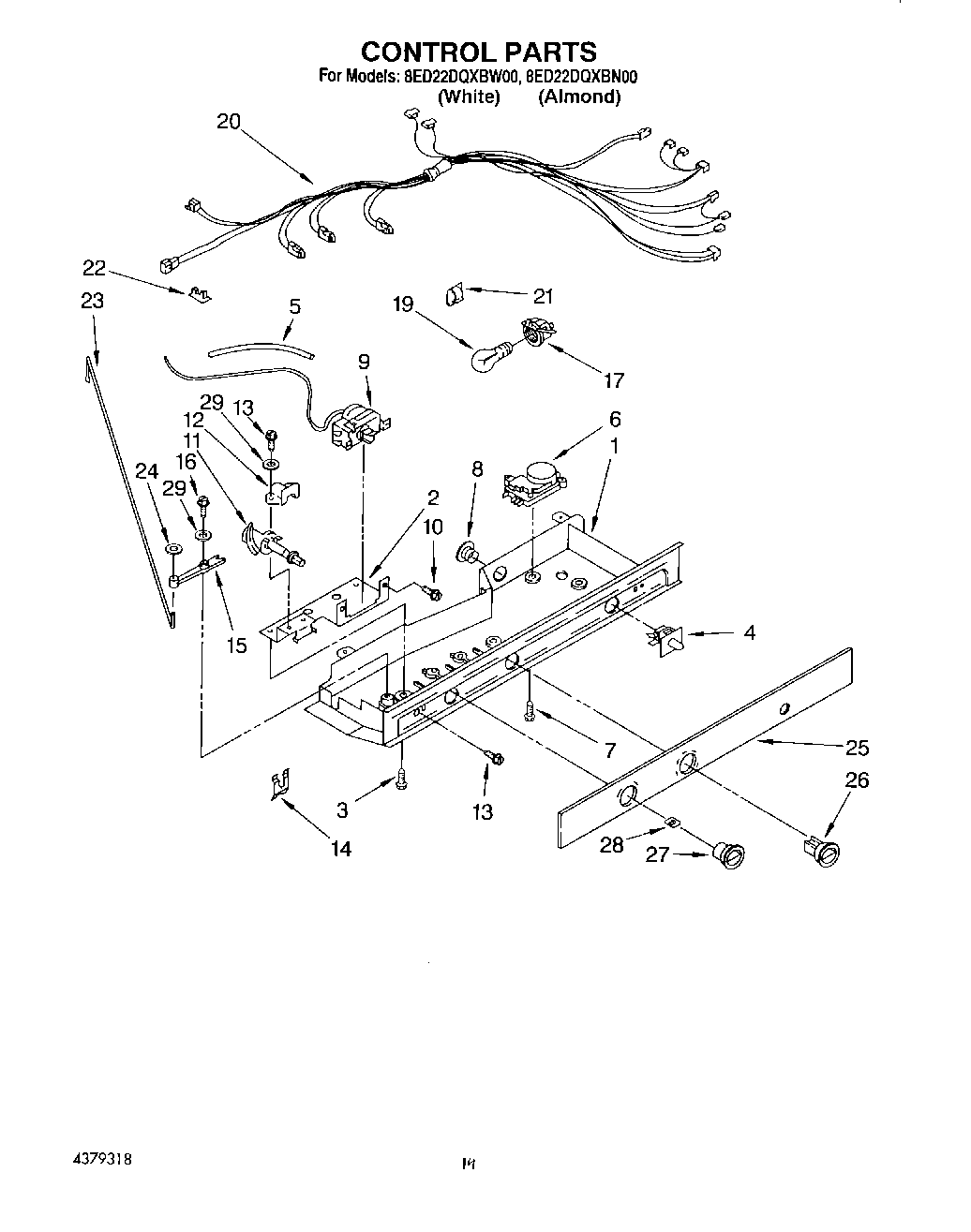
8ED22DQXBN00 12 – CONTROL, LIT/OPTIONALadmin2025-04-26T10:58:18+00:008ED22DQXBN00 12 – CONTROL, LIT/OPTIONAL ProductsPositionProductTorx KeyWPL LIT2170152WPW10312301 Whirlpool Refrigerator Ice ContainerWPL LIT2167114Modular Icemaker Service Sheet1Control Box2Mounting Bracket3Screw (2)4WP2149705 Whirlpool Refrigerator Door Switch5WP2196003 Whirlpool Refrigerator Bar Riser6Defrost Timer7489392 Whirlpool Refrigerator Screw8940014 Whirlpool Refrigerator Primary Button Plug9WP2198202 Whirlpool Refrigerator Temperature Thermostat10WP965173 Whirlpool Dishwasher Screw11Cam Assembly121110560 Whirlpool Refrigerator Bearing13WP489478 Whirlpool Refrigerator Screw14Retainer, Damper15Pivot Arm16627068 Whirlpool Refrigerator Screw174387478 Whirlpool Refrigerator Light Socket19RANGE ONLY 40W 120V APPL BULB20Control Box Harness21WP1115374 Whirlpool Refrigerator Clip22CLIP, WIRING23Connecting Rod24Fastener, Push-On25Escutcheon, Control Box262182111 Whirlpool Refrigerator Thermal Knob27Knob, Air Control28Knob, Retainer29Almond (Uncut)29Leveler (Thinner)29WP72107 Whirlpool Touchup29350956 Whirlpool Spray Assembly2972017 Whirlpool Appliance Touch-Up Paint White29Transformer (115-230 Volt)29350930 Whirlpool White Spray Paint29799344 Whirlpool Refrigerator Paint29WP542638 Whirlpool Refrigerator Grease29WP505587 Whirlpool Refrigerator Sealer29TAPE, VINYL (3/4 X 108``)29CEMENT, ALUMILASTIC (1 1/4 OZ.)29Enamel, Black (1 Qt. Uncut)29WPL 79983329WPL 87602929WP503695 Whirlpool Refrigerator Sealer29285006 Whirlpool Spray2972032 Whirlpool Touch Up Paint Black29876370 Whirlpool Refrigerator Insulation29833938 Whirlpool Refrigerator Terminal29606755 Whirlpool Refrigerator Bag29511873 Whirlpool Refrigerator Paint29350942 Whirlpool Spray Paint29212643 Whirlpool Refrigerator Permagum Sealer29489203 Whirlpool Refrigerator Washer