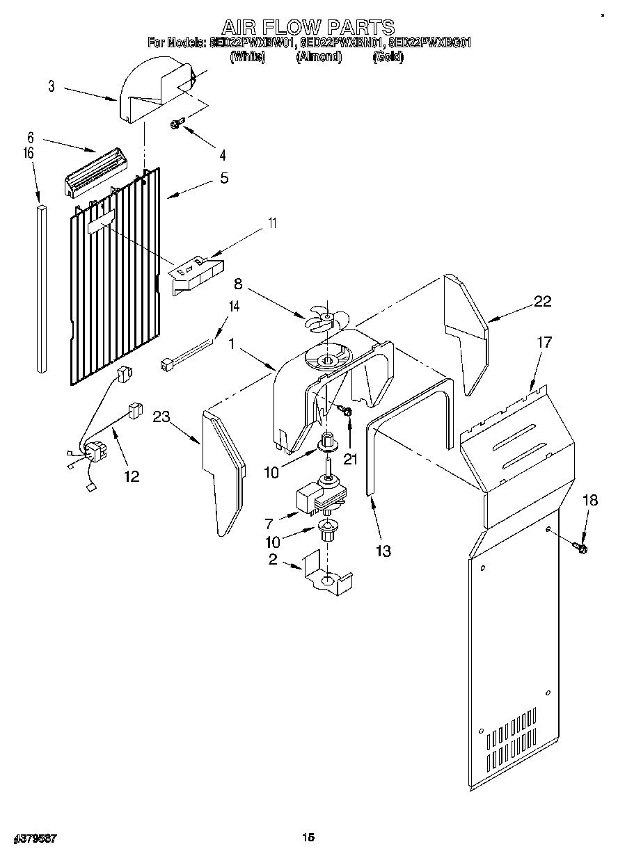
8ED22PWXBG01 10 – AIR FLOW