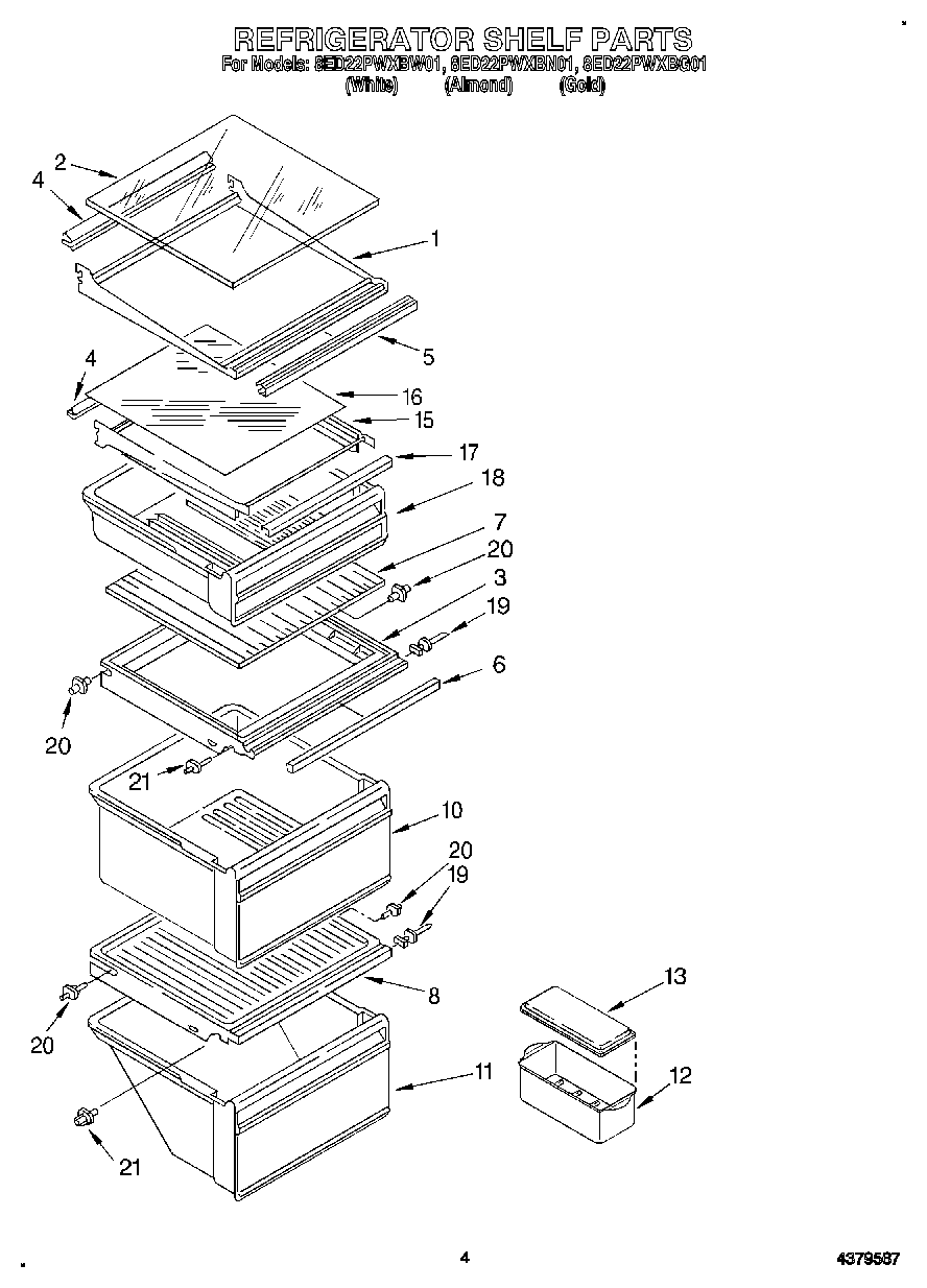
8ED22PWXBW01 03 – REFRIGERATOR SHELFadmin2025-04-26T10:58:03+00:008ED22PWXBW01 03 – REFRIGERATOR SHELF ProductsPositionProduct1Shelf Assembly, Cantilever (2)2Glass, Shelf3WP1126289 Whirlpool Refrigerator Cover4Reflector5Trim, Shelf6Trim, Crisper Cover7Glass, Crisper Cover8WP2148298 Whirlpool Refrigerator Deli Drawer Cover Top Pan10WP2148279 Whirlpool Refrigerator Crisper Pan11Meat Pan12W10136387A Whirlpool Refrigerator Egg Container13Cover15Pan Shelf & Slide Assembly16Glass, Shelf17Trim, Front18Snack Bin204388538 Whirlpool Refrigerator Stud Shelf Kit (White)21WP2149540 Whirlpool Shelf Support