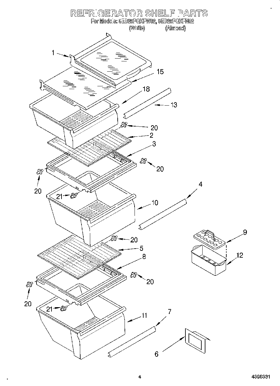
8ED25PQXFN02 03 – REFRIGERATOR SHELFadmin2025-04-26T11:40:15+00:008ED25PQXFN02 03 – REFRIGERATOR SHELF ProductsPositionProduct1Shelf Assembly, Cantilever (2)2W10864399 Whirlpool Glass Shelf4Trim, Pan62179350 Whirlpool Refrigerator Deflector7WP2179234 Whirlpool Refrigerator Pan Trim8W10508993 Whirlpool Refrigerator Cover Pan9WP2177817 Whirlpool Refrigerator Egg Container10WP2188661 Whirlpool Crisper Pan11WP2188664 Whirlpool Dishwasher Meat Crisper Pan12W10136387A Whirlpool Refrigerator Egg Container13WP2179243 Whirlpool Refrigerator Pan Trim15Shelf, Cantilever (Snack Bin)18W11497323 Whirlpool Snack Pan204388538 Whirlpool Refrigerator Stud Shelf Kit (White)214388539 Whirlpool Refrigerator Shelf Stud