8ED27DQXAN03 13 – ICEMAKER, LIT/OPTIONAL

8ED27DQXAN03 13 – ICEMAKER, LIT/OPTIONAL

Products

PositionProduct
Modular Icemaker Service Sheet
WPL LIT2165017
WPL LIT2155716
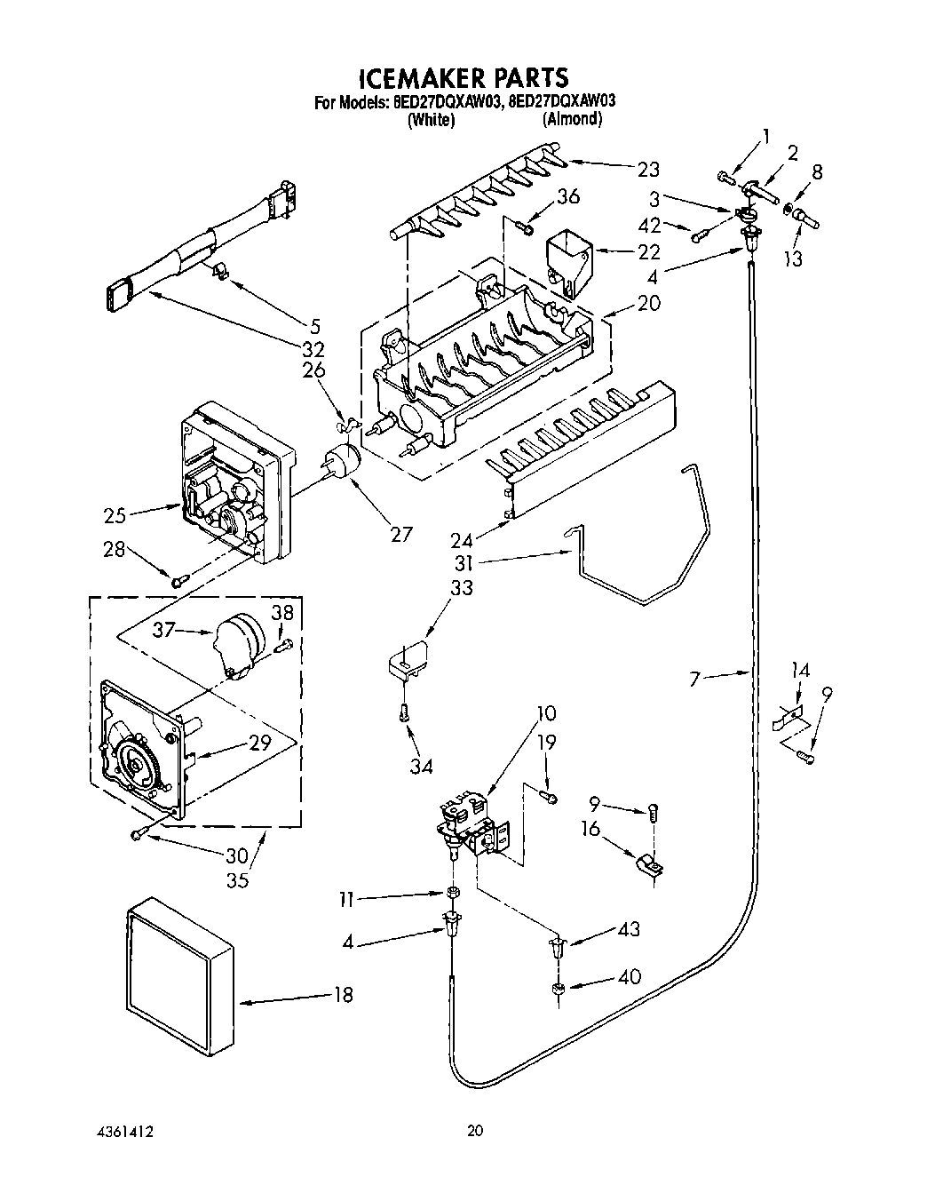
WPL LIT4361412
WPL LIT2162750
Torx Key
WPW10312300 Whirlpool Refrigerator Ice Container
2WP2196157 Whirlpool Fill Tube
3WP488878 Whirlpool Refrigerator Tube Clamp
44387491 Whirlpool Refrigerator Insert
5WP628379 Whirlpool Refrigerator Clip
7W10823511 Whirlpool Refrigerator Water Tube
8WP1106508 Whirlpool Refrigerator Gasket
9WP489478 Whirlpool Refrigerator Screw
10W10853654 Whirlpool Water Inlet Valve
11WP627018 Whirlpool Refrigerator Nut
13Tube, Water Inlet
14WP488366 Whirlpool Refrigerator Clamp
18Cover
19WPW10141625 Whirlpool Refrigerator Screw Assembly
20WPW10190929 Whirlpool Refrigerator Ice Maker Mold
22WP628356 Whirlpool Refrigerator Fill Cup
23WP627843 Whirlpool Refrigerator Ejector Arm
24WP2182124 Whirlpool Refrigerator Stripper Arm
25WP2195914 Whirlpool Refrigerator Ice Maker Housing
26WP2315522 Whirlpool Refrigerator Clip
27WP627985 Whirlpool Icemaker Cycling Thermostat
288533917 Whirlpool Refrigerator Screw
30WP681249 Whirlpool Screw Assembly
31W11342242 Whirlpool Refrigerator Ice Level Arm
32WP2187464 Whirlpool Refrigerator Wire Harness
33W11500948 Whirlpool Refrigerator Bracket
34Screw, 8-32 x 27/64
36WP488163 Whirlpool Refrigerator Screw
37W10190935 Whirlpool Refrigerator Icemaker Motor Module Assembly
38489136 Whirlpool Refrigerator Screw
40Nut, Compression
42WP488787 Whirlpool Refrigerator Screw
43Insert, Tube
100350956 Whirlpool Spray Assembly
10072017 Whirlpool Appliance Touch-Up Paint White
100799344 Whirlpool Refrigerator Paint
100WP72107 Whirlpool Touchup
100Leveler (Thinner)
100Transformer (115-230 Volt)
100350930 Whirlpool White Spray Paint
100Almond (Uncut)
100285006 Whirlpool Spray
100606755 Whirlpool Refrigerator Bag
100833938 Whirlpool Refrigerator Terminal
100876370 Whirlpool Refrigerator Insulation
100WP503695 Whirlpool Refrigerator Sealer
100WP505587 Whirlpool Refrigerator Sealer
100350942 Whirlpool Spray Paint
100TAPE, VINYL (3/4 X 108``)
100CEMENT, ALUMILASTIC (1 1/4 OZ.)
100Enamel, Black (1 Qt. Uncut)
100WPL 799833
100WPL 876029
100212643 Whirlpool Refrigerator Permagum Sealer
100WP542638 Whirlpool Refrigerator Grease
1004317943 Whirlpool Refrigerator Ice Maker Assembly
100511873 Whirlpool Refrigerator Paint
10072032 Whirlpool Touch Up Paint Black