8ET18ZKXDG01 06 – UNIT, LIT/OPTIONALadmin2025-04-26T12:34:59+00:008ET18ZKXDG01 06 – UNIT, LIT/OPTIONAL
Products
| Position | Product |
|---|
| Literature Parts (Do-It-Yourself Manual Ref./Frz.) |
| WPL LIT677971 |
| WPL LIT2172667 |
| WPL LIT2170417 |
| Torx Key |
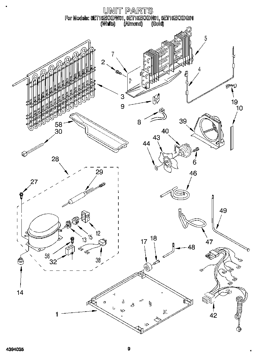
| 1 | Plate, Unit Mounting |
| 2 | WP489478 Whirlpool Refrigerator Screw |
| 3 | Condenser |
| 4 | WP2315531 Whirlpool Refrigerator Heater |
| 5 | Evaporator Assy. |
| 6 | Screw |
| 7 | Drain Pan |
| 8 | WP4387503 Whirlpool Refrigerator Bimetal Defrost Thermostat |
| 9 | Bracket, Heater |
| 10 | Extension, Air Baffle |
| 12 | WP2162358 Whirlpool Refrigerator Terminal Cover |
| 13 | WP2149959 Whirlpool Refrigerator Overload |
| 14 | 4387913 Whirlpool Refrigerator Primary Overload Relay |
| 14 | Grommet (4) (Production) |
| 15 | Relay (See Overload) |
| 17 | Roller (2) |
| 18 | W11594405 Whirlpool Axle |
| 19 | Clip, Heater |
| 27 | Screw |
| 28 | Installation Kit |
| 28 | W10823815 Whirlpool Refrigerator Compressor |
| 28 | 876765 Whirlpool Primary Mounting Kit Refrigerator |
| 29 | W10843121 Whirlpool Refrigerator Tube |
| 30 | WPW10339879 Whirlpool Wire Tie |
| 32 | Capacitor |
| 39 | Air Baffle |
| 40 | W10822259 Whirlpool Refrigerator Condenser Fan Motor |
| 42 | Wire Assy. Unit |
| 43 | Fan, Blade |
| 44 | WP486692 Whirlpool Refrigerator Nut |
| 46 | Tube, Discharge |
| 47 | Tube, Suction |
| 48 | Tube, Process |
| 49 | Tube, Condenser To Heat Loop |
| 56 | W11693756 Whirlpool Screw Assembly |
| 58 | TAPE, VINYL (3/4 X 108``) |
| 58 | 350930 Whirlpool White Spray Paint |
| 58 | Start Kit |
| 58 | Evap. Tray |
| 58 | Door Reversal Instructions |
| 58 | 72032 Whirlpool Touch Up Paint Black |
| 58 | 876370 Whirlpool Refrigerator Insulation |
| 58 | 833938 Whirlpool Refrigerator Terminal |
| 58 | 606755 Whirlpool Refrigerator Bag |
| 58 | 511873 Whirlpool Refrigerator Paint |
| 58 | 350942 Whirlpool Spray Paint |
| 58 | 212643 Whirlpool Refrigerator Permagum Sealer |
| 58 | VALVE, ACCESS (5/8``) |
| 58 | Almond (Uncut) |
| 58 | WP72107 Whirlpool Touchup |
| 58 | 799344 Whirlpool Refrigerator Paint |
| 58 | 72017 Whirlpool Appliance Touch-Up Paint White |
| 58 | WP503695 Whirlpool Refrigerator Sealer |
| 58 | 876764 Whirlpool Refrigerator Primary Valve |
| 58 | 978026 Whirlpool Refrigerator Primary Valve |
| 58 | 285006 Whirlpool Spray |
| 58 | WPL 876029 |
| 58 | WPL 799833 |
| 58 | WPL 799832 |
| 58 | CEMENT, ALUMILASTIC (1 1/4 OZ.) |
| 58 | VALVE, ACCESS (1/2``) |
| 58 | WP978025 Whirlpool Refrigerator Valve |
| 58 | 978030 Whirlpool Refrigerator Valve |
| 58 | WP542638 Whirlpool Refrigerator Grease |
| 58 | 978027 Whirlpool Refrigerator Primary Valve |
| 58 | WP505587 Whirlpool Refrigerator Sealer |
| 58 | 350956 Whirlpool Spray Assembly |