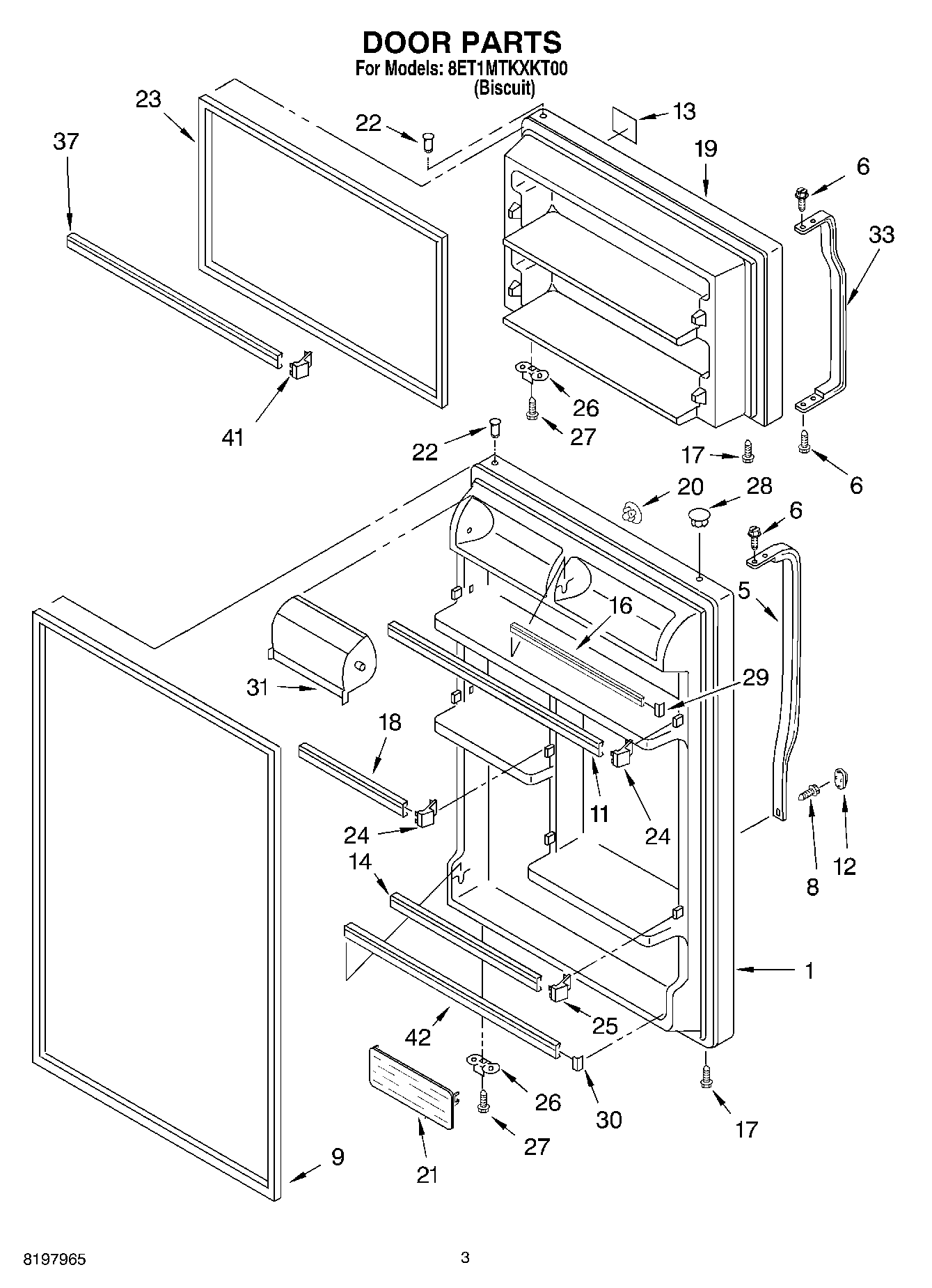
8ET1MTKXKT00 02 – DOOR