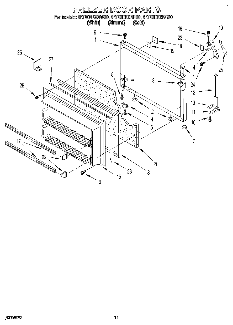
8ET20DKXBG00 07 – FREEZER DOOR