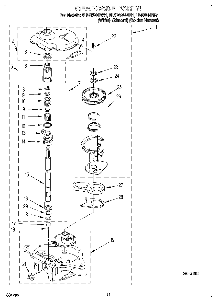
8LSP6244BN1 09 – GEARCASEadmin2025-04-26T12:38:40+00:008LSP6244BN1 09 – GEARCASE ProductsPositionProduct2285202 Whirlpool Cover Assembly3WP3349985 Whirlpool Shaft Seal4WP285195 Whirlpool Sealer Assembly6WP356427 Whirlpool Shaft Seal8Ring, Retaining (2)962677 Whirlpool Retainer10Spring, Agitator1262619 Whirlpool Washer15WP389387 Whirlpool Agitator Shaft16Washer, Cam Thrust17285205 Whirlpool Bearing19Bottom and Pinion, Gearcase21285352 Whirlpool Washer Oil Seal Kit for Gearcase Input Shaft22WP3351614 Whirlpool Screw23Ring, Retaining24Washer Kit, Thrust26NEUTRL-PAK273360629 Whirlpool Washer Gearcase Transmission29WP388815 Whirlpool Washer