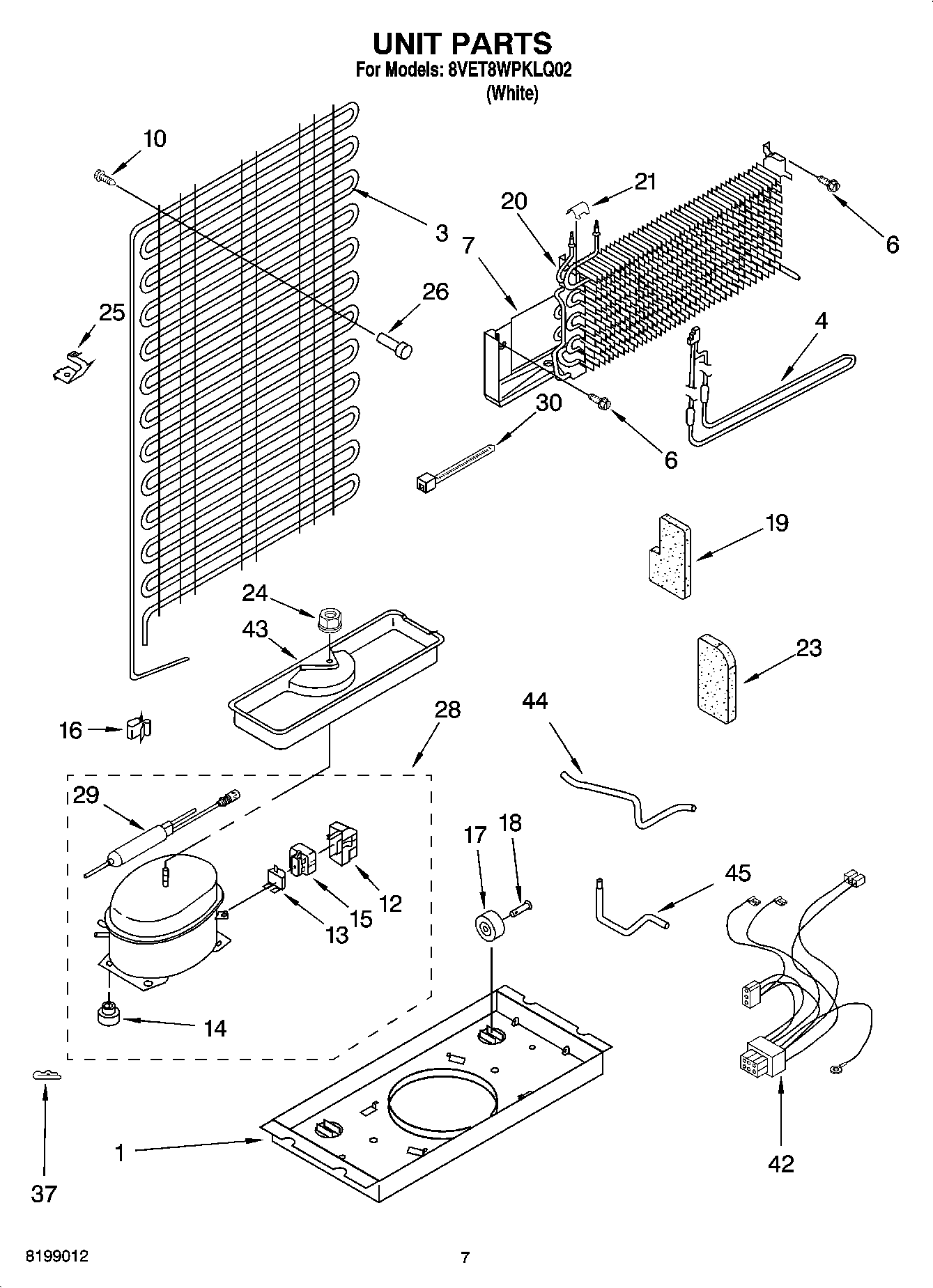
8VET8WPKLQ02 04 – UNIT PARTS