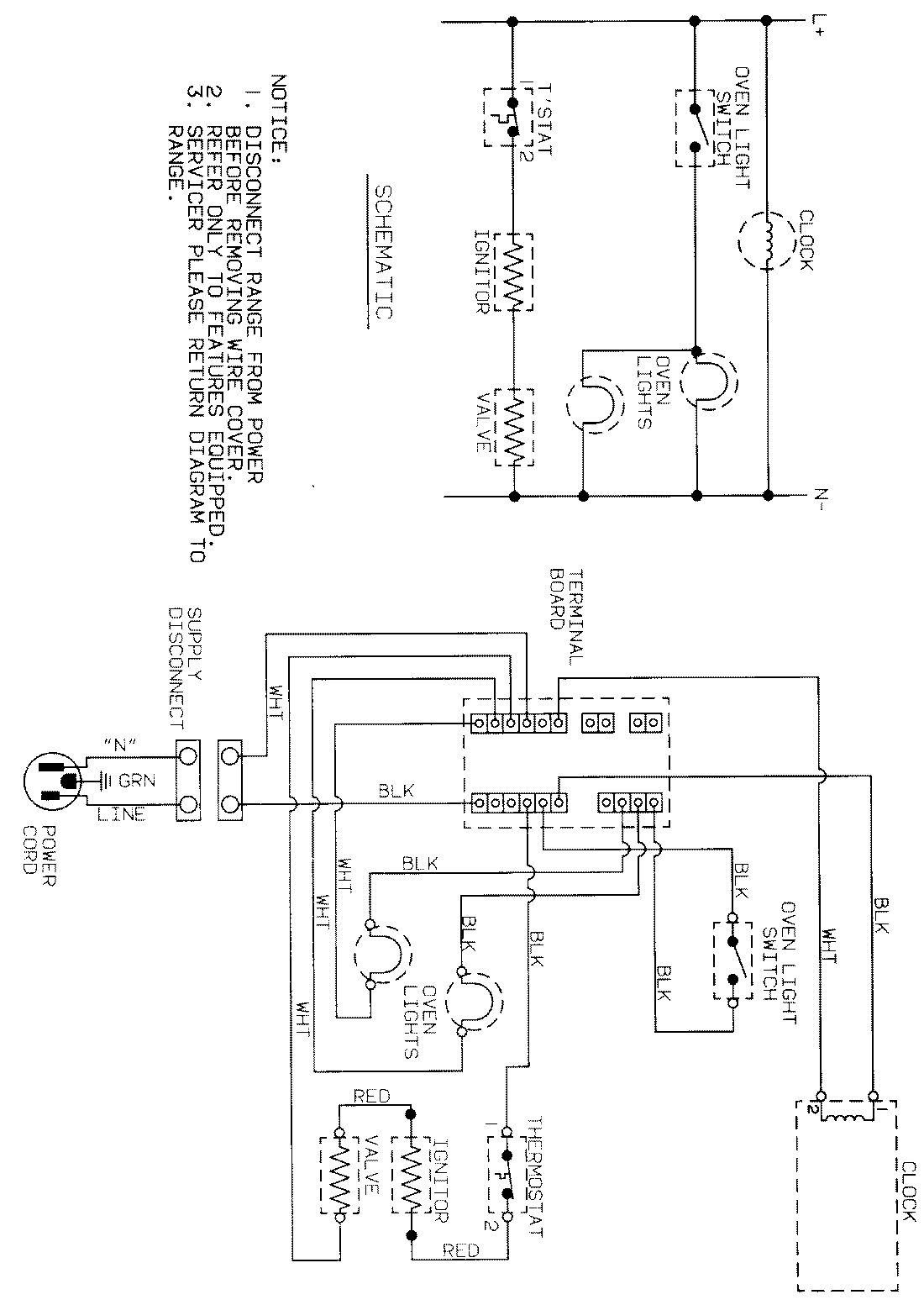
9222XPB 06 – WIRING INFORMATIONadmin2025-04-26T08:55:27+00:009222XPB 06 – WIRING INFORMATION ProductsPositionProductNIMAY 15001723