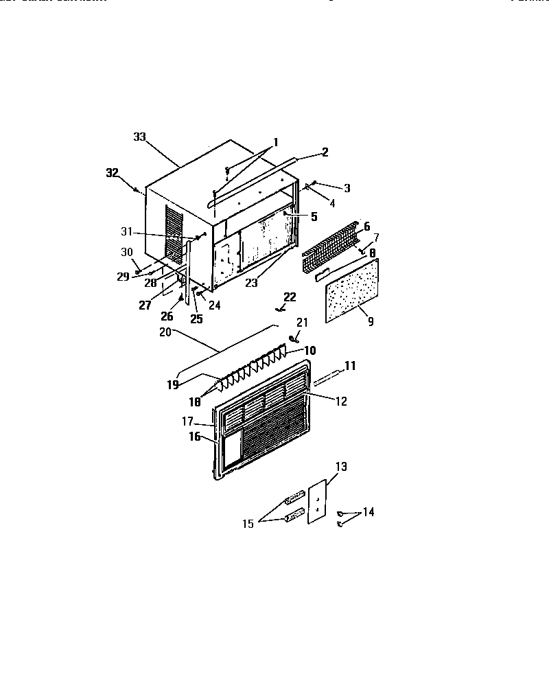
A11MEDSD3 07 – CABINET, FRONT (`AAA` CABINET MODEL