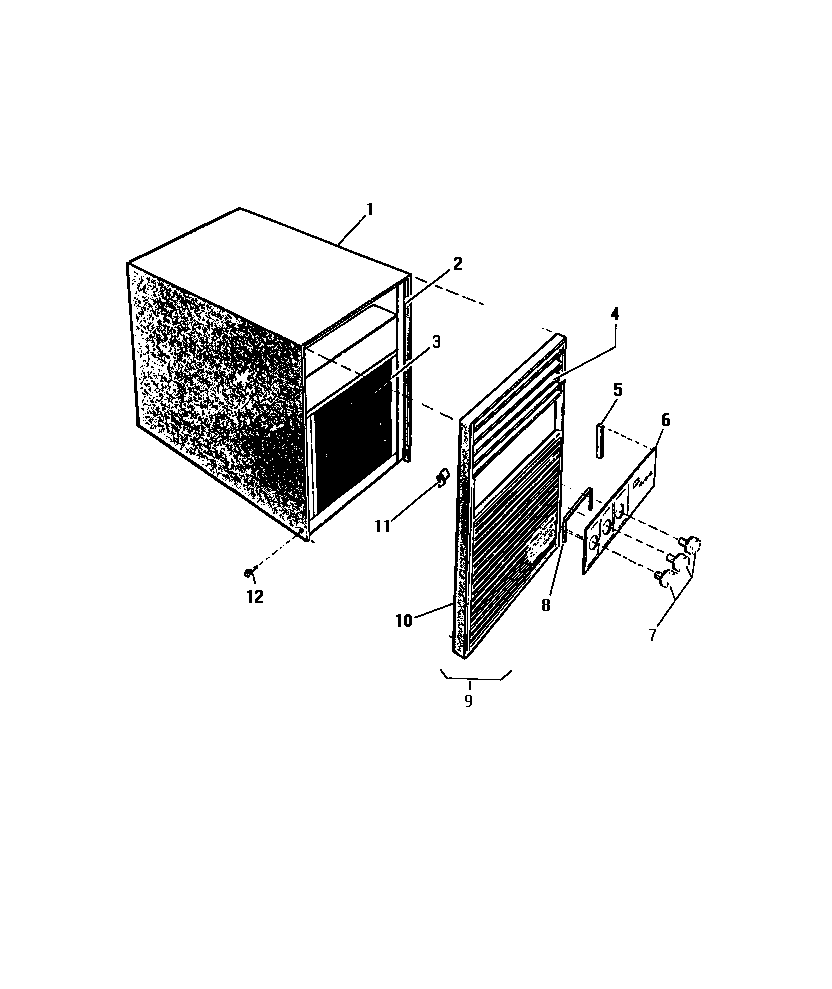
A11MEUTSD2 02 – CABINET, FRONT (`SLIDER` MODEL)