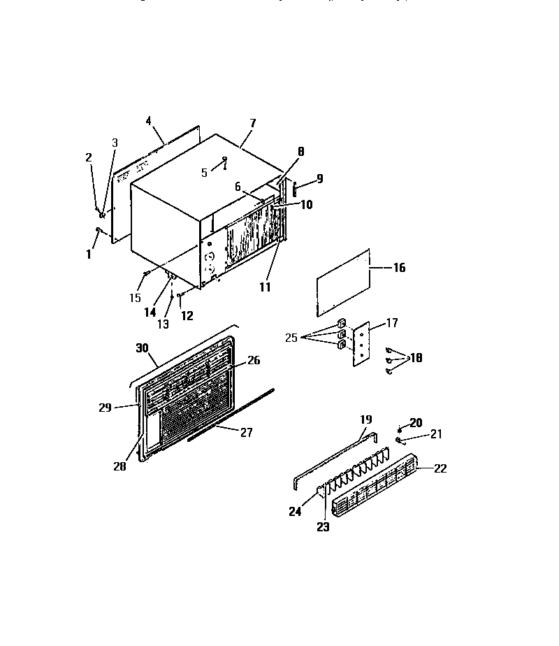
A11MEUTSD2 29 – CABINET, FRONT (`B` CABINET MODELS)