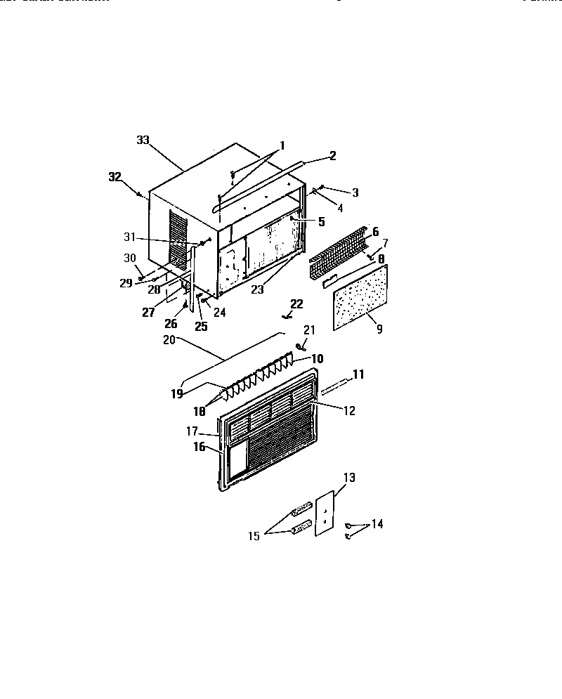
A1538UD2 07 – CABINET, FRONT (`AAA` CABINET MODEL