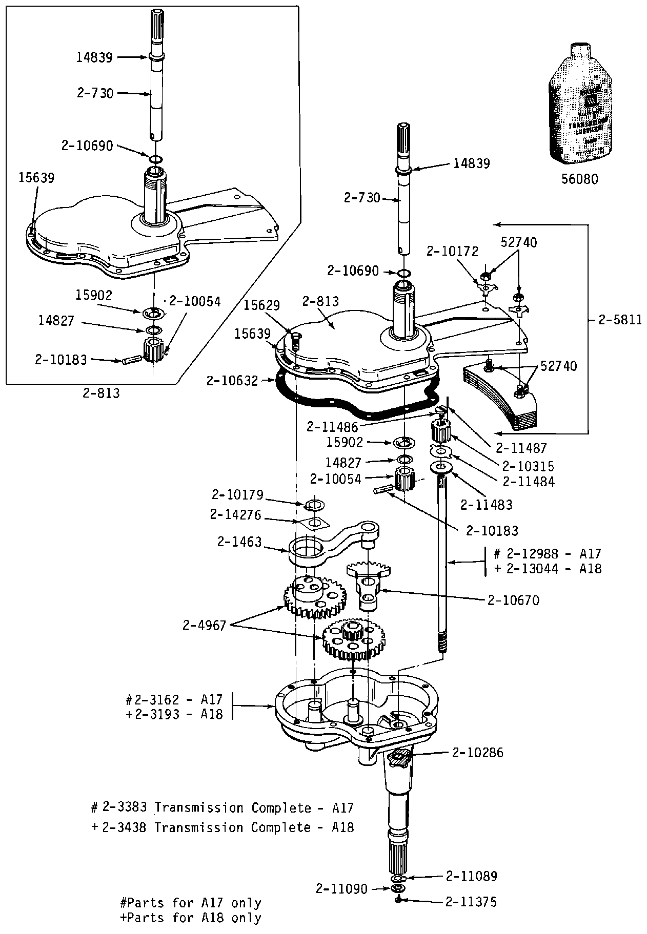
| 001 | MAY Y014827 |
| 002 | MAY Y014839 |
| 003 | MAY Y015629 |
| 005 | MAY Y015902 |
| 006 | WP62739 Whirlpool Nut |
| 007 | MAY Y056080 |
| 008 | MAY 200730 |
| 012 | MAY 203383 |
| 013 | MAY 204967 |
| 015 | MAY 210054 |
| 018 | MAY 210183 |
| 019 | MAY 210286 |
| 020 | MAY 210315 |
| 021 | MAY 210632 |
| 023 | MAY 210690 |
| 024 | WP211089 Whirlpool Lug Stop |
| 025 | WP22003555 Whirlpool Washer ST |
| 026 | WP912618 Whirlpool Dishwasher Screw |
| 027 | WP6-2114830 Whirlpool Washer Spare Part |
| 028 | MAY 211484 |
| 029 | MAY 211486 |
| 031 | MAY 212988 |
| 032 | DOWEL PIN FOR HANDLE |