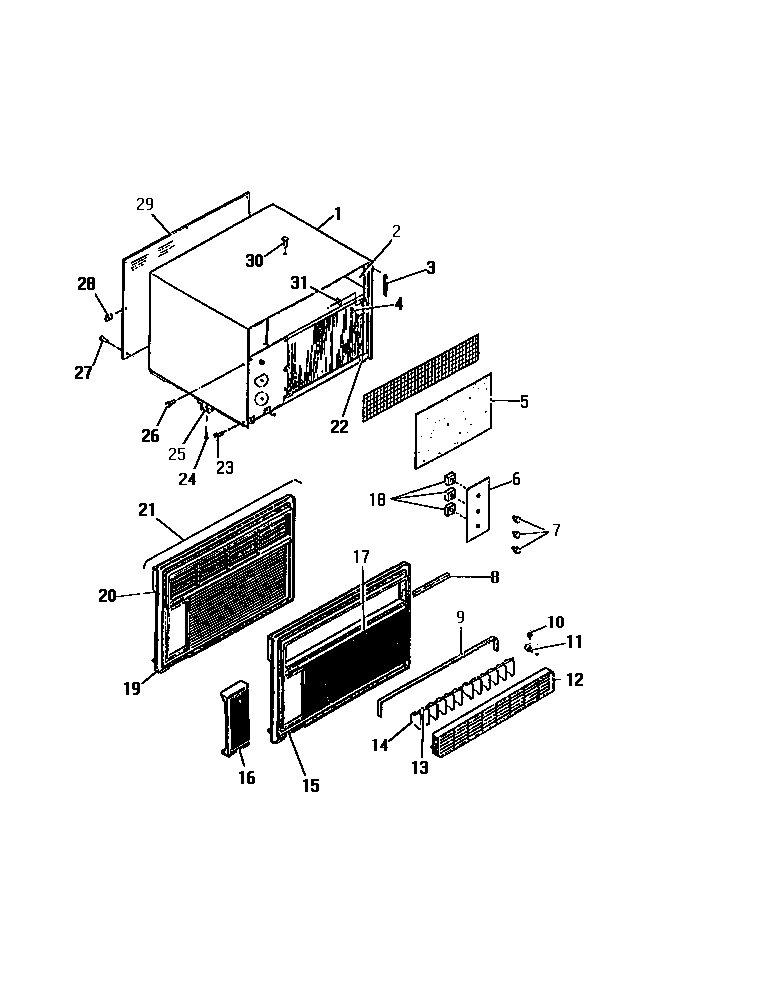
A1838C2 21 – CABINET, FRONT (`B` CABINET MODELS)admin2025-04-26T08:42:12+00:00A1838C2 21 – CABINET, FRONT (`B` CABINET MODELS) ProductsPositionProduct1WCI 80109352INSULATION-SHELL, R. SIDE2INSULATION-SHELL, L. SIDE2WCI 80093553SEAL-CABINET, FRONT3WCI 80093593WCI 80093584CLIP-CAP. TUBE5WCI 80090206WCI 80090947KNOB-CONTROL (3)8WCI 80141049WCI 800768410PAD (2)11HANDLE (2)12WCI 800784613WCI 801369714LOUVER (12)15WCI 801373316HOUSING, ALMOND17WCI 801374818SPACER19WCI 801104120WCI 800785921WCI 801374122CLIP-FRONT TO BASE23SCREW24SCREW (2)25SUPPORT26SCREW-FRONT LOCKING28NUT29PANEL-REAR30SCREW31WCI 8010928