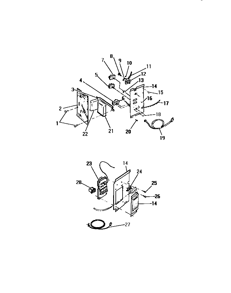
A1838UD2 23 – CONTROLS, CAPACITORS (`DD` CABINETadmin2025-04-26T08:42:46+00:00A1838UD2 23 – CONTROLS, CAPACITORS (`DD` CABINET ProductsPositionProduct1SCREW2WCI 80071623STRAP - CAP.6INSULATOR-CAP TUBE8WCI 80110959WCI 800294610WCI 800719411CABLE, VENT DOOR12WCI 800768213WCI 800680016WCI 800767218SCREW-CONTROL MTG20WCI 800915622CAPACITOR23WCI 801621124WCI 801611325SCREW, GROUND TO CONTROL PANEL26SCREW-CONTROL27WCI 8016156